Запчасти Komatsu PC228USLC-3-AP КАБИНА (МОНИТОР И ЭЛЕКТРОПРОВОДКА) (ДЛЯ ПОДЪЕМА РУКОЯТИ)(№-) КАБИНА ОПЕРАТОРА И СИСТЕМА УПРАВЛЕНИЯ

Схема запчастей Komatsu PC228USLC-3-AP - КАБИНА (МОНИТОР И ЭЛЕКТРОПРОВОДКА) (ДЛЯ ПОДЪЕМА РУКОЯТИ)(№-) КАБИНА ОПЕРАТОРА И СИСТЕМА УПРАВЛЕНИЯ
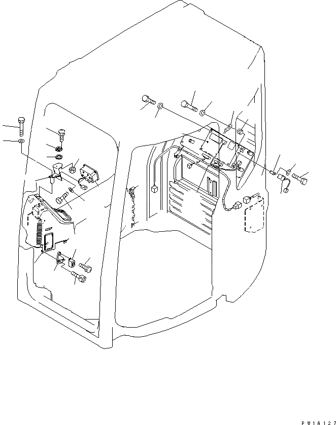
1
2
3
4
5
6
7
8
9
10
11
12
13
14
15
16
17
18
19
20
20
21
22
23
24
25
FIT
1:1
100%

Артикул

Название

Примечание

Количество

1

7837-20-3400

MONITOR

2

22U-54-27110YN

BRACKET

3

01010-D0612

BOLT

4

01643-70623

WASHER

5

01010-D1075

BOLT

6

01643-71032

WASHER

7

22U-54-27130

LEVEL

8

22U-54-27160

PLATE

9

01023-10214

SCREW

10

01580-20202

NUT

11

20Y-957-3170

BUZZER

12

01023-10410

SCREW

13

22U-54-27120YN

BRACKET

14

01252-70625

BOLT

15

22U-06-27510

CONTROLLER¤M/L

|15

7837-20-2401

CONTROLLER

|15

7837-20-2400

CONTROLLER

16

20Y-54-11580

ROLLER

17

08053-01510

CLIP

18

01010-80835

BOLT

19

01010-80825

BOLT

20

01643-30823

WASHER

21

22U-06-27211

WIRING HARNESS

|21

22U-06-27210

WIRING HARNESS

|21

20Y-06-25240

CONNECTOR

22

569-06-61960

RELAY

23

287-06-16420

BRACKET

24

01010-80612

BOLT

25

01643-30623

WASHER

Выбрано товаров: 29