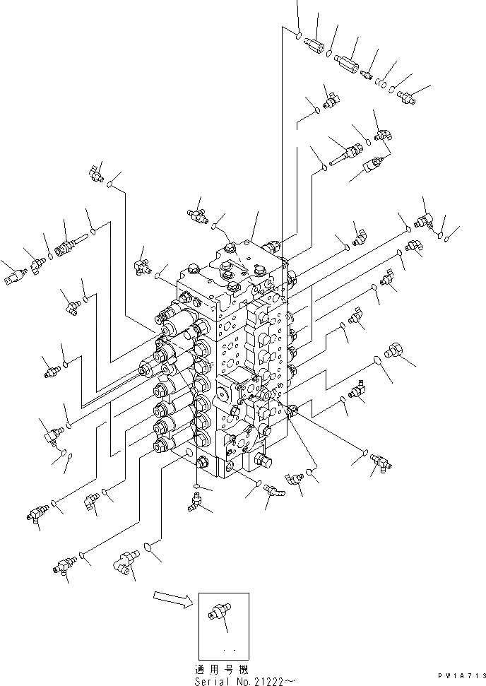
Запчасти Komatsu PC228USLC-3-YP ОСНОВН. КЛАПАН (СОЕДИНИТЕЛЬН. ЧАСТИ) ( АКТУАТОР) (ДЛЯ ПОДЪЕМА РУКОЯТИ)(№-) ГИДРАВЛИКА

Схема запчастей Komatsu PC228USLC-3-YP - ОСНОВН. КЛАПАН (СОЕДИНИТЕЛЬН. ЧАСТИ) ( АКТУАТОР) (ДЛЯ ПОДЪЕМА РУКОЯТИ)(№-) ГИДРАВЛИКА
1
2
2
3
3
4
5
6
7
8
9
10
11
12
13
14
15
15
15
16
16
17
18
19
20
21
22
23
24
25
26
27
28
29
30
31
32
33
34
35
35
36
36
37
38
39
40
41
42
43
44
45
45
45
45
46
46
46
46
47
48
49
50
51
52
53
54
55
FIT
1:1
100%

Артикул

Название

Примечание

Количество

1

723-47-20104

VALVE ASS'Y

|1

723-47-20103

VALVE ASS'Y

|1

723-47-20102

VALVE ASS'Y

2

22U-62-22950

SLEEVE

3

07002-11423

O-RING

4

07235-10210

ELBOW

5

07002-11423

O-RING

6

07235-10311

ELBOW

7

07002-11423

O-RING

8

22U-62-22480

ELBOW

9

201-60-11390

O-RING

10

20Y-62-19560

O-RING

11

07002-11423

O-RING

12

07235-10210

ELBOW

13

208-62-17550

TEE

14

203-62-58410

TEE

15

07002-11423

O-RING

16

07230-20628

UNION

|16

07235-10630

ELBOW

17

07002-12434

O-RING

18

07236-10210

ELBOW

19

07002-11423

O-RING

20

208-62-17550

TEE

21

07002-11423

O-RING

22

22U-62-23540

JOINT

23

07002-11423

O-RING

|24

20Y-60-22261

VALVE ASS'Y

24

BODY

25

20Y-60-22270

POPPET

26

701-20-61230

SPRING

27

07230-20210

UNION

28

07002-11423

O-RING

29

07002-11423

O-RING

30

07235-50210

ELBOW

31

07002-11423

O-RING

32

206-06-61130

SWITCH

33

07040-12412

PLUG

34

07002-12434

O-RING

35

205-62-74190

ELBOW

36

07002-11223

O-RING

37

07235-10311

ELBOW

38

07002-11423

O-RING

39

208-62-17550

TEE

40

07002-11423

O-RING

41

22U-62-22480

ELBOW

42

201-60-11390

O-RING

43

20Y-62-19560

O-RING

44

07002-11423

O-RING

45

07235-10210

ELBOW

46

07002-11423

O-RING

47

205-966-7420

ELBOW

48

07002-11423

O-RING

49

206-06-61130

SWITCH

50

245-62-51510

ELBOW

51

07002-11423

O-RING

52

07235-10212

ELBOW

53

07002-11423

O-RING

54

07230-10210

UNION

55

07002-11423

O-RING

Выбрано товаров: 59