Запчасти Komatsu PC228USLC-3N-YA КОВШ¤ .9M (CECE .8M)¤ MM (ВЕРТИКАЛЬН. ПАЛЕЦ) (С РЕГУЛЯТОРОМ)(№-) РАБОЧЕЕ ОБОРУДОВАНИЕ

Схема запчастей Komatsu PC228USLC-3N-YA - КОВШ¤ .9M (CECE .8M)¤ MM (ВЕРТИКАЛЬН. ПАЛЕЦ) (С РЕГУЛЯТОРОМ)(№-) РАБОЧЕЕ ОБОРУДОВАНИЕ
FIT
1:1
100%

Артикул

Название

Примечание

Количество

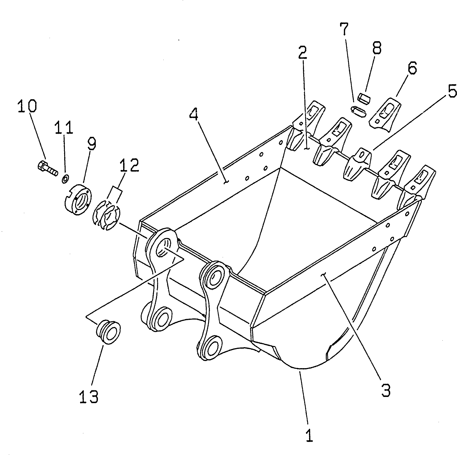
1

20Y-920-2112

BUCKET

2

20Y-920-1121

PLATE (WELDED)

3

20Y-70-34121

PLATE,L.H. (WELDED)

4

20Y-70-34131

PLATE,R.H. (WELDED)

5

20Y-70-24210

ADAPTER (WELDED)

6

205-70-74272

TOOTH

7

205-70-74281

PIN

8

205-70-74291

LOCK

9

205-70-74391

PLATE

10

01010-62055

BOLT

11

01643-32060

WASHER

12

205-70-00100

SHIM ASS'Y

|13

SHIM¤ 1.0MM

|13

SHIM¤ 0.5MM

13

205-70-74381

SPACER

Выбрано товаров: 15