Запчасти Komatsu PC228USLC-8 КАБИНА, КАБИНА IN ЧАСТИ, ЗАДН. КРЫШКА (/) OPERATORґS КАБИНА

Схема запчастей Komatsu PC228USLC-8 - КАБИНА, КАБИНА IN ЧАСТИ, ЗАДН. КРЫШКА (/) OPERATORґS КАБИНА
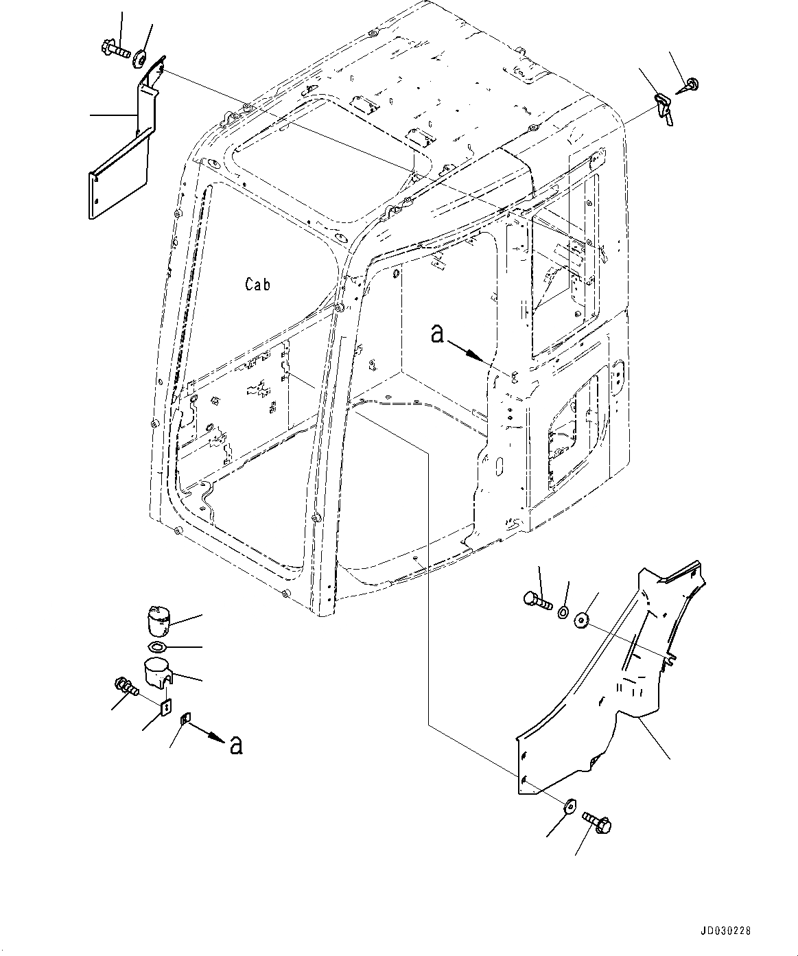
1
3
2
5
4
16
6
8
7
9
10
7
15
11
14
12
13
FIT
1:1
100%

Артикул

Название

Примечание

Количество

1

22B-54-25361

Cover,LHS

2

20Y-53-12310

Collar

3

01435-40616

Bolt

4

21J-54-16540

Hammer

5

01370-40412

Screw

6

22B-54-25381

Cover,RHS

7

20Y-53-12310

Collar

8

01435-40616

Bolt

9

01010-D0616

Bolt

10

01643-70623

Washer

11

425-926-3751

Holder

12

22P-53-12981

Plate

13

426-925-3890

Plate

14

01023-20616

Screw

15

20Y-43-41970

Sheet

16

20Y-43-41491

Ashtray

Выбрано товаров: 0