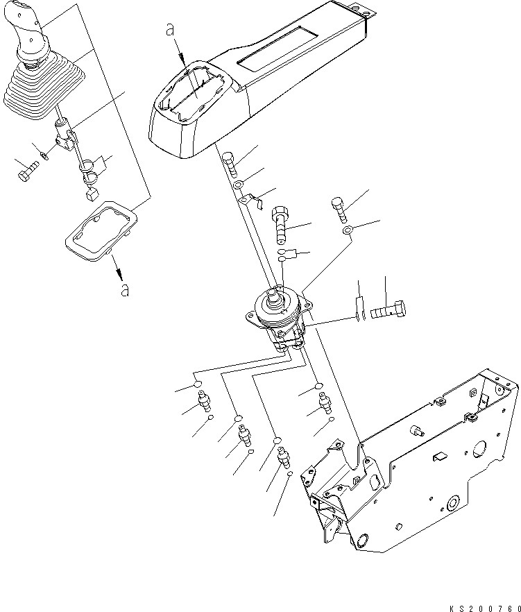
Запчасти Komatsu PC228USLC-8 КАБИНА, РЫЧАГ, LHS OPERATORґS КАБИНА

Схема запчастей Komatsu PC228USLC-8 - КАБИНА, РЫЧАГ, LHS OPERATORґS КАБИНА
2
3
5
1
6
7
4
8
9
7
6
11
10
13
12
14
13
12
14
13
12
14
13
12
14
FIT
1:1
100%

Артикул

Название

Примечание

Количество

1

20Y-43-K1671

Lever Assґy,Left

2

01010-81030

Bolt

3

01643-51032

Washer

4

20Y-53-K1230

Bracket

5

08034-20414

Band

6

01010-80820

Bolt

7

01643-30823

Washer

8

20Y-62-18910

Bolt

9

07000-12018

O-Ring

10

20Y-62-18890

Bolt

11

07000-12015

O-Ring

12

02781-0021D

Union

13

07002-11423

O-Ring

14

02896-11008

O-Ring

Выбрано товаров: 14