Запчасти Komatsu PC228USLC-8 СИСТЕМА ОХЛАЖДЕНИЯ, СИСТЕМА ТРУБ РАДИАТОРА (№-) СИСТЕМА ОХЛАЖДЕНИЯ, ДЛЯ СТРАН ЕС

Схема запчастей Komatsu PC228USLC-8 - СИСТЕМА ОХЛАЖДЕНИЯ, СИСТЕМА ТРУБ РАДИАТОРА (№-) СИСТЕМА ОХЛАЖДЕНИЯ, ДЛЯ СТРАН ЕС
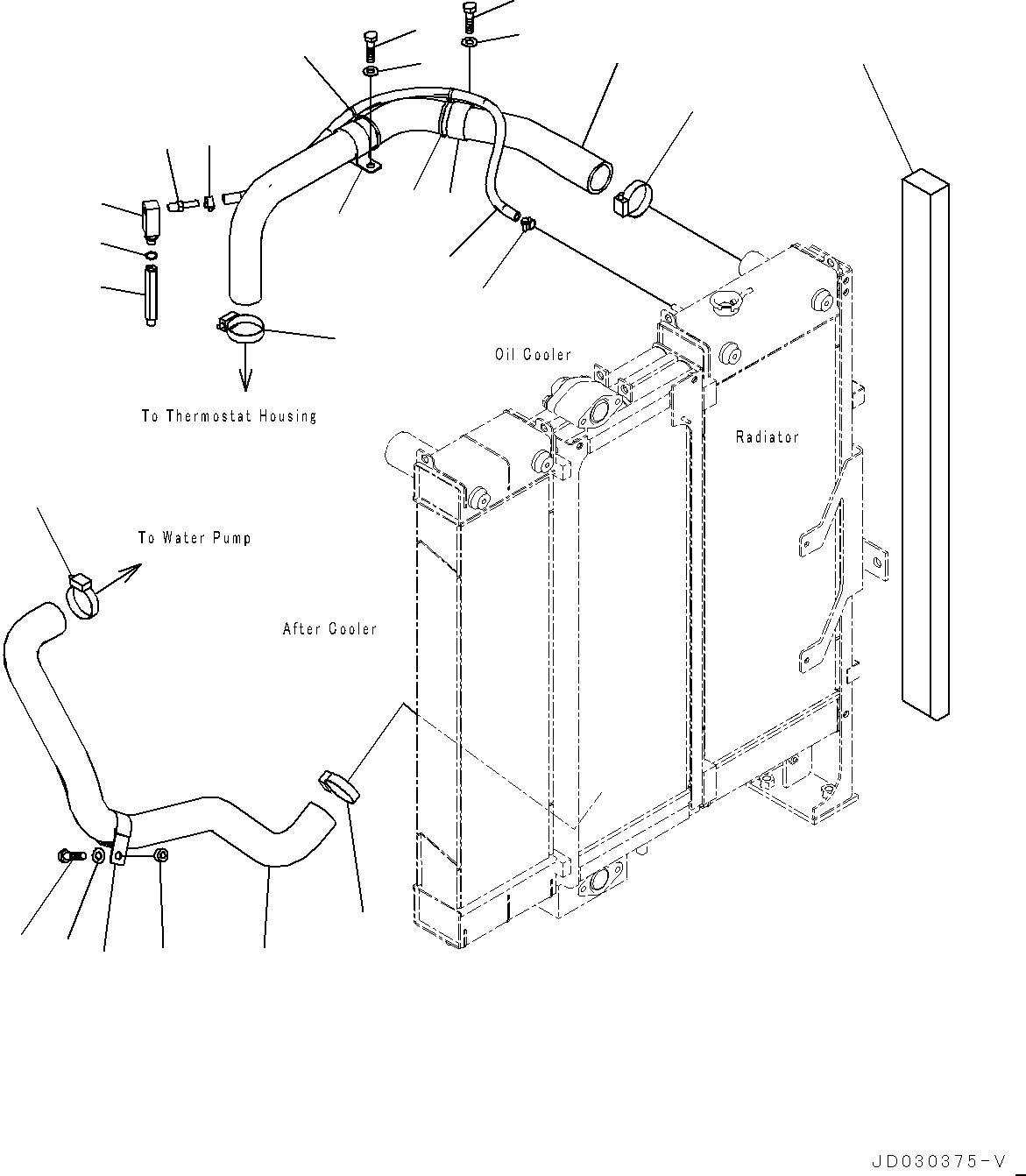
1
11
7
2
3
8
12
12
3
4
13
14
17
16
19
19
18
18
4
15
5
6
5
6
9
10
FIT
1:1
100%

Артикул

Название

Примечание

Количество

1

22U-03-31710

Sheet

2

22U-03-31140

Hose

3

07289-00055

Clamp

4

22U-03-31760

Clip

5

01010-81230

Bolt

6

01643-31232

Washer

7

22U-03-31760

Clip

8

22U-03-31120

Hose

9

01010-81030

Bolt

10

01643-31032

Washer

11

560-43-15220

Washer

12

07289-00055

Clamp

13

205-03-31331

Nipple

13

205-03-31330

Nipple

14

22U-03-31720

Elbow

15

07002-11423

O-Ring

16

22U-03-31730

Nipple

17

09483-10309

Hose

18

07281-00197

Clamp

19

134-03-61410

Band

Выбрано товаров: 20