Качественные детали и логистика
Оригинальные и аналоговые запчасти с доставкой по России, Казахстану и Беларуси
©2022 PartSell ООО "Система" ИНН 2463123282 ОГРН 1212400004838
Центральный офис: г. Красноярск, Академика Киренского, д.87, пом.4
Телефон: 8 (800) 777-65-74 Email: zakaz@partsell.ru
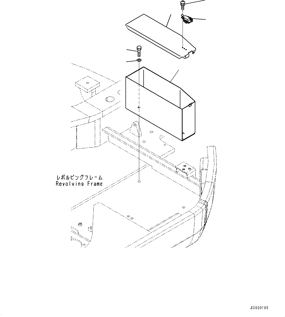
ЯЩИК Д/ИНСТРУМЕНТА (№-)
№
Артикул
Название
Примечание
Количество
|$0
22U-54-38140
Box, Tool
1
Cover
2
22U-54-38160
3
195-57-11530
Clip
4
01023-10512
Screw
5
01010-81230
Bolt
6
01643-31232
Washer
Выбрано товаров: 0