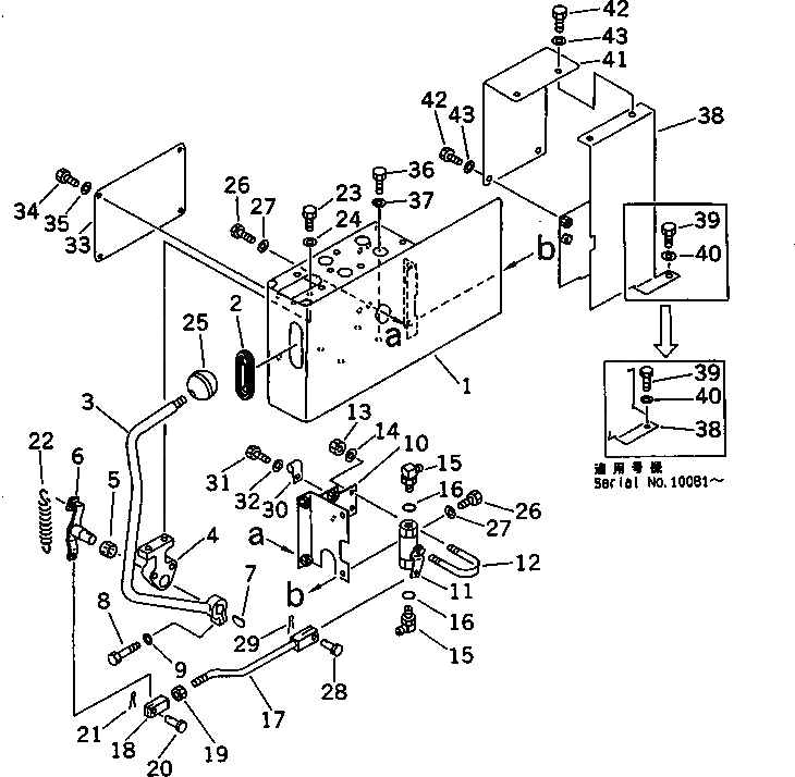
Запчасти Komatsu PC230-6 ЛЕВ. СТОЙКА (СТОЙКА И ЗАДН. КРЫШКА)(№-7) КАБИНА ОПЕРАТОРА И СИСТЕМА УПРАВЛЕНИЯ

Схема запчастей Komatsu PC230-6 - ЛЕВ. СТОЙКА (СТОЙКА И ЗАДН. КРЫШКА)(№-7) КАБИНА ОПЕРАТОРА И СИСТЕМА УПРАВЛЕНИЯ
FIT
1:1
100%

Артикул

Название

Примечание

Количество

1

20Y-43-21372

COVER

2

20Y-43-21950

GROMMET

3

20Y-43-21892

LEVER

4

20Y-43-21920

PLATE

5

06124-02020

BEARING,959D

6

20Y-43-21912

SHAFT

7

04010-00519

KEY

8

01010-50830

BOLT

9

01643-30823

WASHER

10

20Y-43-21940

BRACKET

11

20Y-62-15651

VALVE

12

07283-23442

CLIP

13

01599-01011

NUT

14

01643-31032

WASHER

15

07235-10315

ELBOW

16

07002-02034

O-RING

17

20Y-43-21931

ROD

18

04211-20634

YOKE

19

01580-10605

NUT

20

04205-10618

PIN

21

04050-11612

PIN

22

20Y-43-22330

SPRING

23

01016-51040

BOLT

24

01643-31032

WASHER

25

09304-10835

KNOB

26

01010-50820

BOLT

27

01643-30823

WASHER

28

04205-10618

PIN

29

04050-11612

PIN

30

08036-01414

CLIP

31

01010-51025

BOLT

32

01643-31032

WASHER

33

20Y-43-21980

COVER

34

01010-50816

BOLT

35

01643-30823

WASHER

36

01010-51025

BOLT

37

01643-31032

WASHER

38

20Y-43-21871

COVER

|38

20Y-43-21870

COVER

39

01010-51225

BOLT

40

01643-31232

WASHER

41

20Y-43-21960

COVER

42

01010-50816

BOLT

43

01643-30823

WASHER

Выбрано товаров: 44