Запчасти Komatsu PC230LC-6 ОХЛАЖД-Е (ТРУБЫ)(№-8) СИСТЕМА ОХЛАЖДЕНИЯ

Схема запчастей Komatsu PC230LC-6 - ОХЛАЖД-Е (ТРУБЫ)(№-8) СИСТЕМА ОХЛАЖДЕНИЯ
FIT
1:1
100%

Артикул

Название

Примечание

Количество

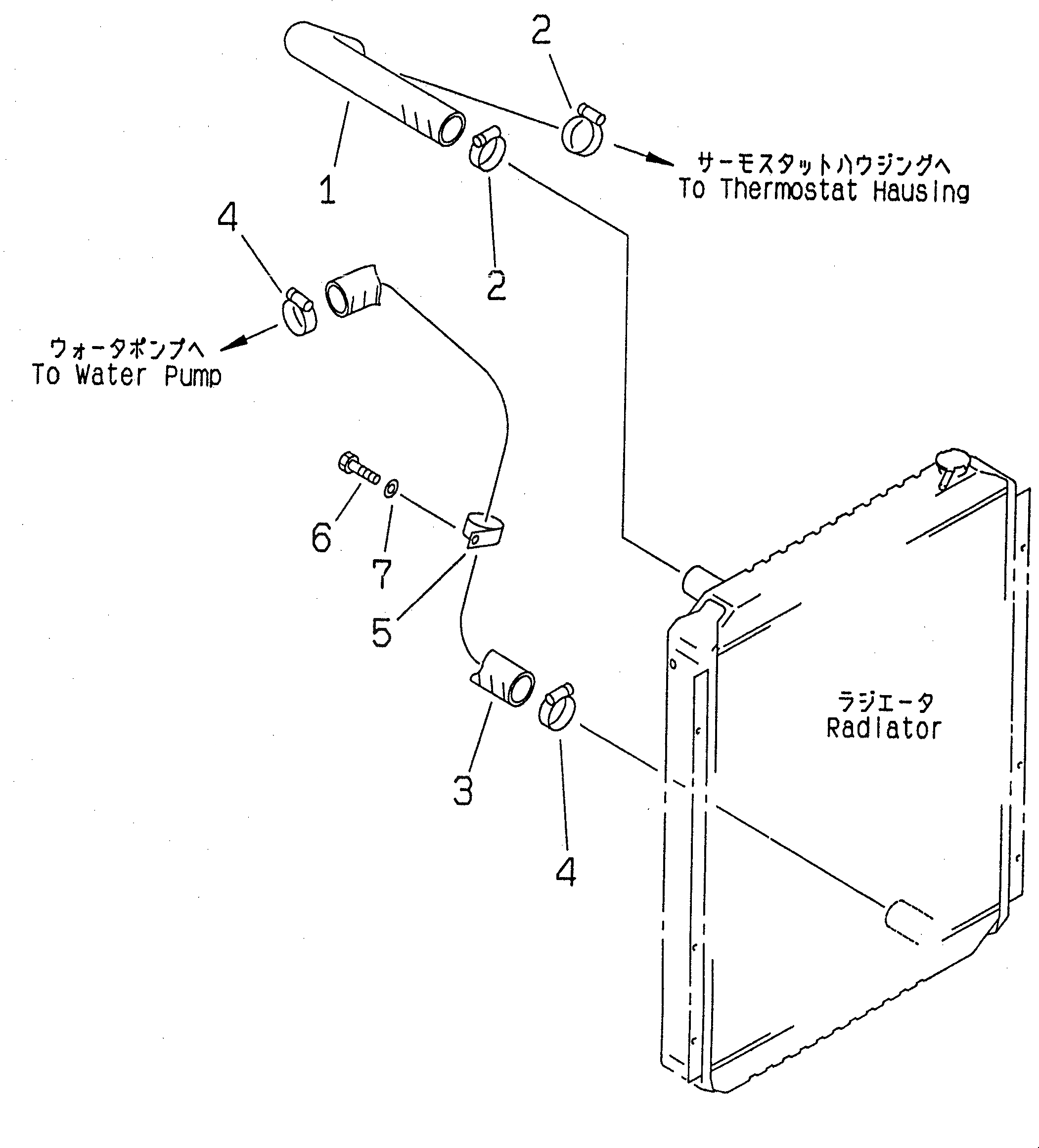
1

20Y-03-21290

HOSE

2

07289-00055

CLAMP

2

208-09-11110

CLAMP

3

20Y-03-21282

HOSE

4

07289-00055

CLAMP

4

208-09-11110

CLAMP

5

208-62-38370

CLIP

6

01010-51025

BOLT

7

01643-31032

WASHER

Выбрано товаров: 9