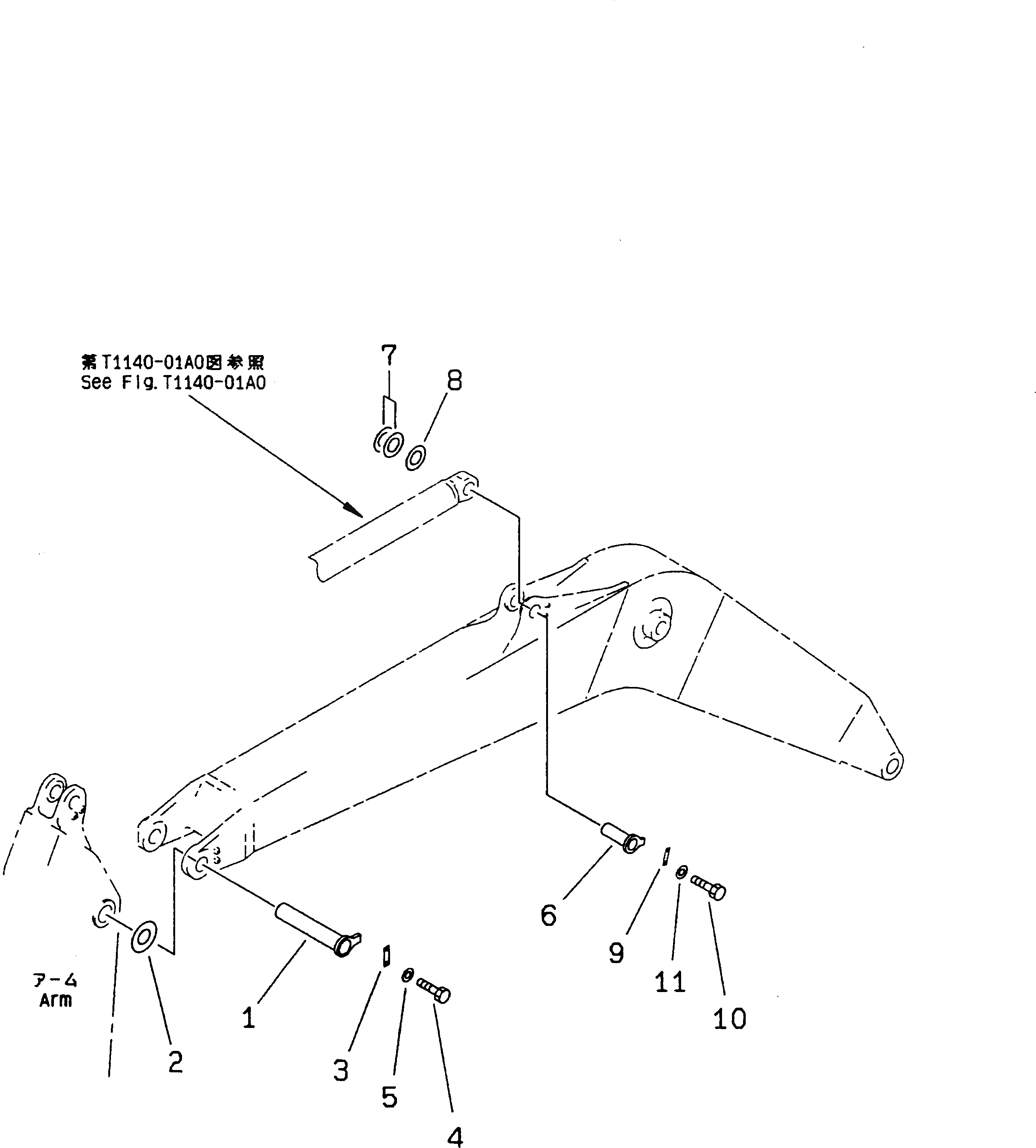
Запчасти Komatsu PC230LC-6 СТРЕЛА (ВЕРХН. ПАЛЕЦ И НИЖН. ПАЛЕЦ) РАБОЧЕЕ ОБОРУДОВАНИЕ

Схема запчастей Komatsu PC230LC-6 - СТРЕЛА (ВЕРХН. ПАЛЕЦ И НИЖН. ПАЛЕЦ) РАБОЧЕЕ ОБОРУДОВАНИЕ
FIT
1:1
100%

Артикул

Название

Примечание

Количество

1

205-70-65680

PIN

2

20Y-70-11360

SPACER, 0.8MM

3

205-70-71310

PLATE

4

01010-51235

BOLT

5

01643-31232

WASHER

6

206-70-51170

PIN

7

20Y-70-11340

SPACER, 0.8MM

8

205-70-51530

SPACER, 1.5MM

9

205-70-66580

PLATE

10

01010-51230

BOLT

11

01643-31232

WASHER

Выбрано товаров: 11