Запчасти Komatsu PC230LC-6 КАБИНА (С POWER СДВИГ. ВВЕРХ ОКНА) (КАБИНА (INКАПОТ) (С ЧАСТИ КОРПУСА)(№30025-31999) ) (ОСНОВ.)(РЫЧАГ С КЛАПАНОМ PPC)(№9-) КАБИНА ОПЕРАТОРА И СИСТЕМА УПРАВЛЕНИЯ

Схема запчастей Komatsu PC230LC-6 - КАБИНА (С POWER СДВИГ. ВВЕРХ ОКНА) (КАБИНА (INКАПОТ) (С ЧАСТИ КОРПУСА)(№30025-31999) ) (ОСНОВ.)  (РЫЧАГ С КЛАПАНОМ PPC)(№9-) КАБИНА ОПЕРАТОРА И СИСТЕМА УПРАВЛЕНИЯ
FIT
1:1
100%

Артикул

Название

Примечание

Количество

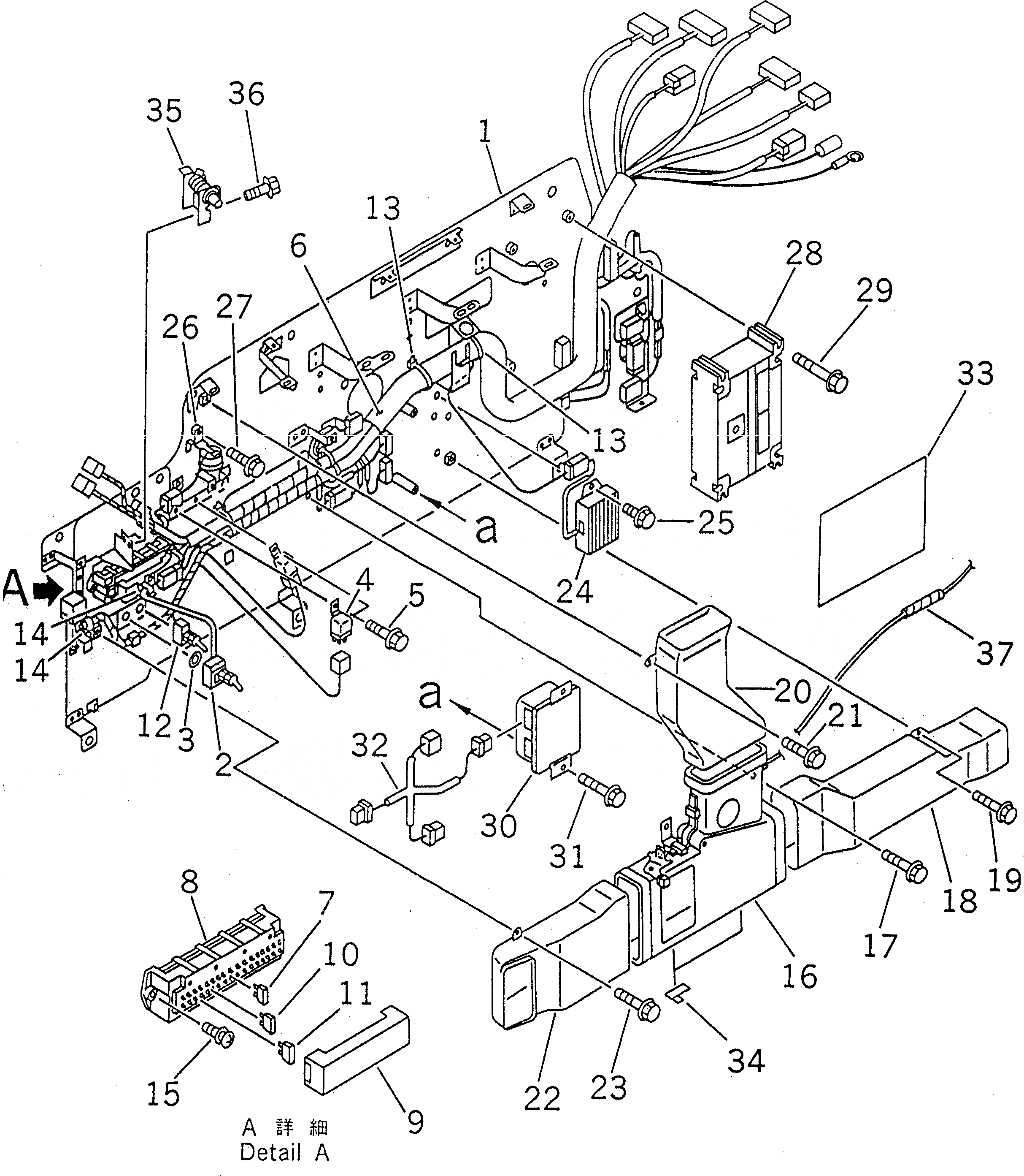
1

207-06-61510

BASE

2

20Y-06-24121

SWITCH ASS'Y,PUMP REDUNDANCY

|2

20Y-06-24120

SWITCH ASS'Y,PUMP REDUNDANCY

3

01641-21223

WASHER

4

569-06-61960

RELAY

5

01435-00610

BOLT

6

20Y-06-22750

WIRING HARNESS

7

08041-01500

FUSE¤ 15A

|7

205-06-73180

FUSE¤ 15A

8

283-06-16110

BOX

9

195-Z11-2290

COVER

10

08041-01000

FUSE¤ 10A

|10

283-06-16190

FUSE¤ 10A

11

08041-02000

FUSE¤ 20A

|11

22W-06-13160

FUSE¤ 20A

12

20Y-06-24130

SWITCH,SWING REDUNDANCY

13

20Y-06-21460

CLIP

14

20Y-06-23960

CLIP

15

01023-10625

SCREW

16

20Y-979-2130

BOX ASS'Y,(SEE FIG. Y1979-61A0)

17

01435-01016

BOLT

18

20Y-979-2221

DUCT

19

01435-00610

BOLT

20

20Y-979-2231

DUCT

21

01435-00610

BOLT

22

20Y-979-2242

DUCT

23

01435-00610

BOLT

24

7861-94-4001

RESISTOR

|24

7861-94-4000

RESISTOR

25

01435-00820

BOLT

26

203-06-56230

BUZZER ASS'Y

27

01435-00610

BOLT

28

7834-21-6003

CONTROLLER

|28

7834-21-6002

CONTROLLER,GOVERNOR

|28

7834-21-6001

CONTROLLER,GOVERNOR

|28

7834-21-6000

CONTROLLER,GOVERNOR

|28

7834-21-3000

CONTROLLER,GOVERNOR

29

01435-00880

BOLT

30

20Y-06-24420

CONTROLLER,WIPER

31

01435-00630

BOLT

32

20Y-06-24110

WIRING HARNESS

33

20Y-06-24220

SHEET

34

08051-00801

CLIP

35

20Y-06-23521

LOCK

36

01435-00820

BOLT

37

08017-30701

CONDUIT

Выбрано товаров: 46