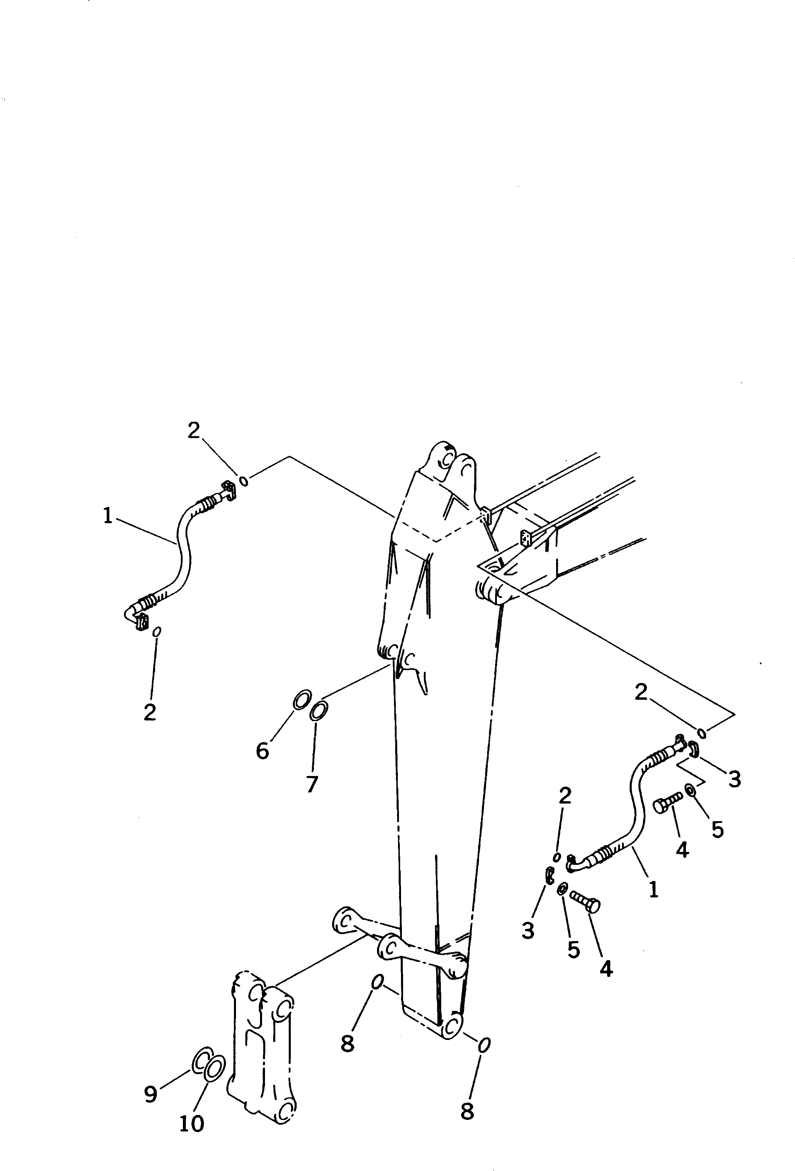
Запчасти Komatsu PC230LC-6 РУКОЯТЬ (ПАТРУБКИ ЦИЛИНДРА КОВША И УПЛОТНЕНИЯ) РАБОЧЕЕ ОБОРУДОВАНИЕ

Схема запчастей Komatsu PC230LC-6 - РУКОЯТЬ (ПАТРУБКИ ЦИЛИНДРА КОВША И УПЛОТНЕНИЯ) РАБОЧЕЕ ОБОРУДОВАНИЕ
FIT
1:1
100%

Артикул

Название

Примечание

Количество

1

206-62-52411

HOSE

2

07000-13025

O-RING

3

07371-30640

FLANGE

4

07372-21035

BOLT

5

01643-51032

WASHER

6

20Y-70-11340

SPACER¤ 0.8MM

7

205-70-51530

SPACER¤ 1.5MM

8

205-70-73280

O-RING

9

20Y-70-11340

SPACER¤ 0.8MM

10

205-70-51530

SPACER¤ 1.5MM

Выбрано товаров: 10