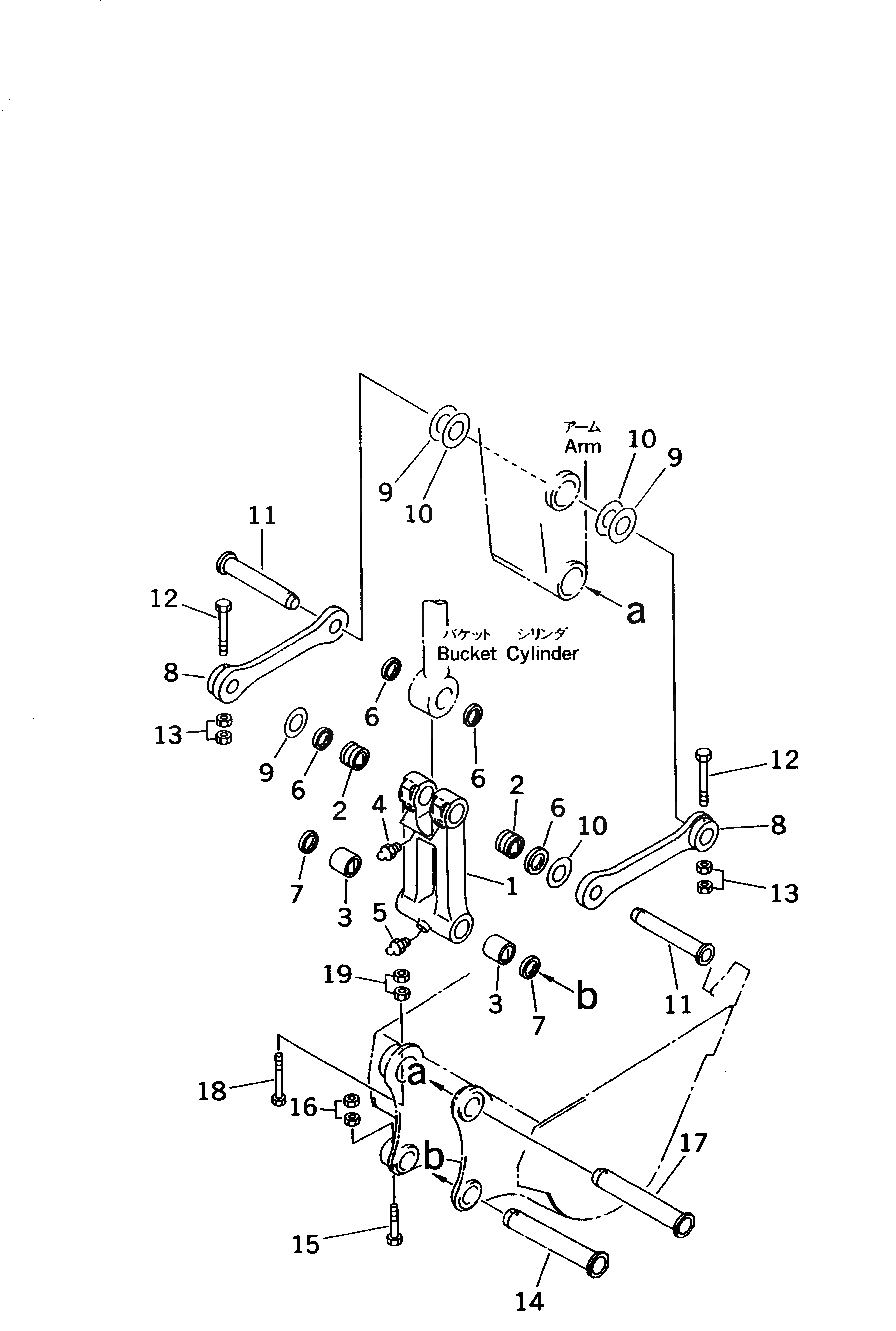
Запчасти Komatsu PC230LC-6 СОЕДИНЕНИЕ КОВША РАБОЧЕЕ ОБОРУДОВАНИЕ

Схема запчастей Komatsu PC230LC-6 - СОЕДИНЕНИЕ КОВША РАБОЧЕЕ ОБОРУДОВАНИЕ
FIT
1:1
100%

Артикул

Название

Примечание

Количество

|1

206-70-00130

LINK ASS'Y

|1

206-70-00261

LINK ASS'Y

1

LINK

|1

LINK

2

206-70-53150

BUSHING

3

205-70-67150

BUSHING

4

07020-00675

FITTING

5

07020-00000

FITTING

6

20Y-70-23230

SEAL

|6

205-70-62140

SEAL

7

20Y-70-23230

SEAL

|7

205-70-62140

SEAL

8

206-70-57120

LINK

9

20Y-70-11340

SPACER¤ 0.8MM

10

205-70-51530

SPACER¤ 1.5MM

11

206-70-53141

PIN

|11

206-70-53140

PIN

12

205-70-73190

BOLT

13

01580-12016

NUT

14

205-70-73270

PIN

15

205-70-73190

BOLT

16

01580-12016

NUT

17

205-70-73270

PIN

18

362-46-11210

BOLT

19

01580-12016

NUT

Выбрано товаров: 25