Запчасти Komatsu PC230NHD-7K ОСНОВН. КЛАПАН (КОРПУС КЛАПАНА) (ДЛЯ 2-СЕКЦИОНН. СТРЕЛЫ) ГИДРАВЛИКА

Схема запчастей Komatsu PC230NHD-7K - ОСНОВН. КЛАПАН (КОРПУС КЛАПАНА) (ДЛЯ 2-СЕКЦИОНН. СТРЕЛЫ) ГИДРАВЛИКА
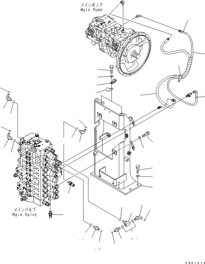
1
2
3
4
5
6
7
8
8
9
10
10
11
12
13
14
14
15
15
16
16
17
18
19
20
21
22
23
23
24
25
26
27
28
29
FIT
1:1
100%

Артикул

Название

Примечание

Количество

1

20Y-62-41112

BRACKET

2

01010-81640

BOLT

3

01643-31645

WASHER

4

01010-81645

BOLT

5

01643-31645

WASHER

6

20Y-62-48250

HOSE

7

20Y-62-48260

HOSE

8

20Y-62-22810

BAND¤ YELLOW

9

04435-51812

CLIP

10

7861-93-1650

SENSOR

|10

07002-11823

O-RING

11

11Y-62-12130

NIPPLE

12

02896-11008

O-RING

13

07002-01423

O-RING

14

02782-10210

ELBOW

|14

11Y-62-12160

ELBOW

15

02896-11008

O-RING

16

07002-01423

O-RING

17

02782-10210

ELBOW

|17

11Y-62-12160

ELBOW

18

02896-11008

O-RING

19

07002-01423

O-RING

20

20Y-62-43640

TEE

21

02782-10210

ELBOW

22

02781-0031D

UNION

23

07002-11423

O-RING

24

02896-11008

O-RING

25

02896-11009

O-RING

26

04435-51512

CLIP

27

01010-81225

BOLT

28

01643-31232

WASHER

29

04434-53412

CLIP

Выбрано товаров: 0