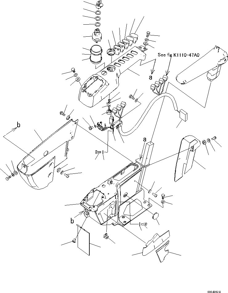
Запчасти Komatsu PC230NHD-8K ОСНОВН. КОНСТРУКЦИЯ (КОНСОЛЬН. БЛОК, ПРАВ.) K OPERATORґS ОБСТАНОВКА И СИСТЕМА УПРАВЛЕНИЯ

Схема запчастей Komatsu PC230NHD-8K - ОСНОВН. КОНСТРУКЦИЯ (КОНСОЛЬН. БЛОК, ПРАВ.) K OPERATORґS ОБСТАНОВКА И СИСТЕМА УПРАВЛЕНИЯ
11
10
9
38
38
37
35
36
34
26
29
28
27
26
31
30
31
9
10
11
12
17
18
40
41
33
32
32
32
44
7
45
18
16
15
18
14
13
47
48
46
43
24
39
20
21
22
19
23
2
3
25
23
24
4
8
42
5
6
1
FIT
1:1
100%

Артикул

Название

Примечание

Количество

1

20Y-43-42313

FRAME

|1

20Y-43-42312

FRAME

|1

20Y-43-42311

FRAME

2

01010-D1230

BOLT

3

01643-71232

WASHER

4

20Y-43-41631

SHEET

5

22U-43-23251

SHEET

6

22U-43-23290

CLIP

7

20Y-43-41323

COVER

8

20Y-43-41661

SHEET

9

01010-80616

BOLT

10

01643-30623

WASHER

11

20Y-43-41290

COLLAR

12

20Y-43-41332

COVER

13

01245-00616

SCREW

14

01643-70623

WASHER

15

01010-80616

BOLT

16

01643-30623

WASHER

17

01435-00612

BOLT

18

20Y-43-41290

COLLAR

19

20Y-43-41353

COVER

20

01245-00616

SCREW

21

01643-70623

WASHER

22

20Y-43-41290

COLLAR

23

01245-00616

SCREW

24

01643-70623

WASHER

25

09415-02512

CAP

26

08086-20000

SWITCH

27

20Y-43-41740

PLATE

28

20Y-43-41750

WASHER

29

20Y-43-41790

WASHER

30

20Y-43-41671

SHEET

31

08034-20519

BAND

32

22U-06-22380

POTENTIOMETER

33

22U-06-22460

SPRING

34

20Y-43-41780

KNOB

35

20Y-06-42110

SWITCH, SWING

36

20Y-06-42121

SWITCH, LIGHT

37

20Y-06-42130

SWITCH, BEACON

38

20Y-06-42190

COVER

39

20Y-06-K8130

WIRING HARNESS

|39

20Y-06-48632

WIRING HARNESS

|39

20Y-06-48131

WIRING HARNESS

40

01023-10508

SCREW

41

01601-20513

WASHER, SPRING

42

22U-43-23260

CLIP

43

04434-51710

CLIP

44

01010-81016

BOLT

45

01643-31032

WASHER

46

04434-51410

CLIP

47

01010-81016

BOLT

48

01643-31032

WASHER

Выбрано товаров: 52