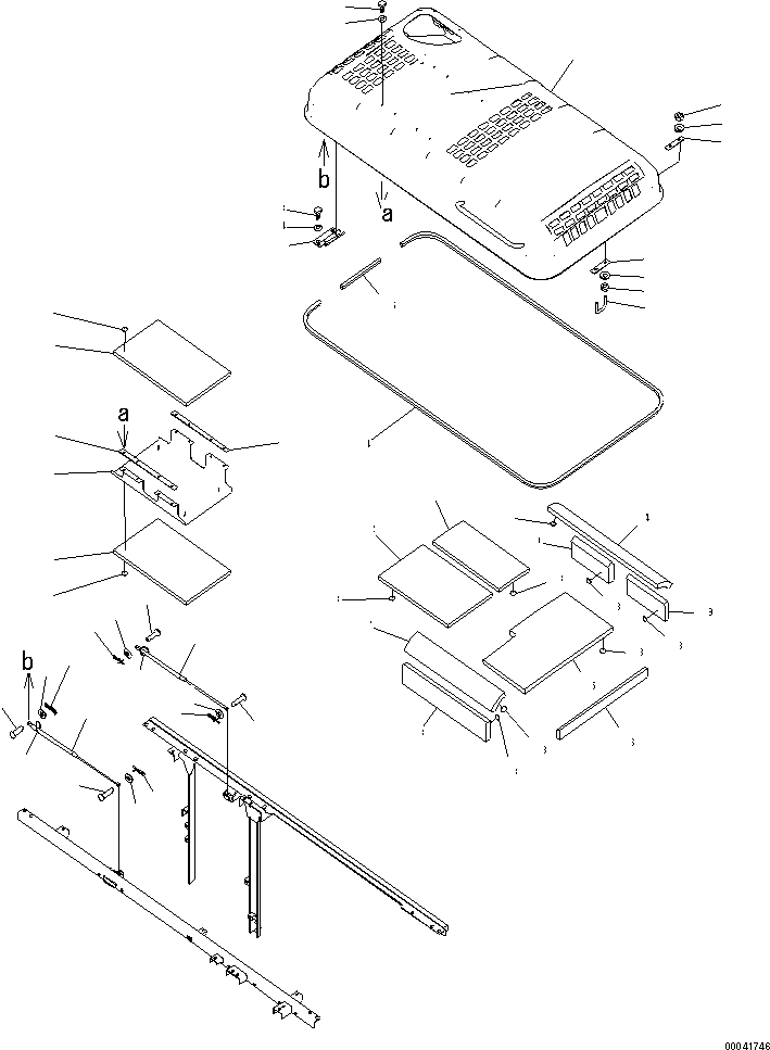
Запчасти Komatsu PC230NHD-8K КАПОТ M ЧАСТИ КОРПУСА

Схема запчастей Komatsu PC230NHD-8K - КАПОТ M ЧАСТИ КОРПУСА
1
2
3
4
4
5
5
6
6
7
7
8
8
9
9
10
10
11
11
12
12
13
13
14
15
16
17
18
19
20
21
22
23
23
23
23
23
23
23
23
24
25
26
27
27
28
28
29
29
30
31
32
32
33
34
FIT
1:1
100%

Артикул

Название

Примечание

Количество

1

20Y-54-71112

HOOD

|1

20Y-54-71111

HOOD

2

20Y-54-K7321

HINGE

3

20Y-54-27172

U-BOLT

4

20Y-54-27330

PLATE

5

01580-11210

NUT

6

01643-31232

WASHER

7

20Y-54-71182

DAMPER

8

04205-30825

PIN

9

01640-20816

WASHER

10

04052-20833

PIN, SNAP

11

04205-30828

PIN

12

01640-20816

WASHER

13

04052-20833

PIN, SNAP

14

20Y-54-72113

SHEET

|14

20Y-54-72112

SHEET

|14

20Y-54-72111

SHEET

15

20Y-54-72191

SHEET

16

20Y-54-72881

SHEET

17

20Y-54-72141

SHEET

18

206-54-21130

SHEET

19

206-54-21140

SHEET

20

206-54-21152

SHEET

|20

206-54-21151

SHEET

|20

206-54-21150

SHEET

21

206-54-21252

SHEET

|21

206-54-21251

SHEET

22

206-54-21161

SHEET

|22

206-54-21160

SHEET

23

124-A62-1920

CAP

|23

124-A62-1920

CAP

24

20Y-54-71470

SEAL

25

20Y-54-71480

SEAL

26

206-54-21211

PLATE

27

206-54-21241

SHEET

|27

206-54-21240

SHEET

28

124-A62-1920

CAP

29

20Y-54-71780

PLATE

30

01010-D0820

BOLT

31

01643-70823

WASHER

32

08034-20414

BAND

33

01010-81230

BOLT

34

01643-31232

WASHER

Выбрано товаров: 43