Запчасти Komatsu PC230NHD-8K ТОПЛИВН. БАК. (№K-) D ТОПЛИВН. БАК. AND КОМПОНЕНТЫ

Схема запчастей Komatsu PC230NHD-8K - ТОПЛИВН. БАК. (№K-) D ТОПЛИВН. БАК. AND КОМПОНЕНТЫ
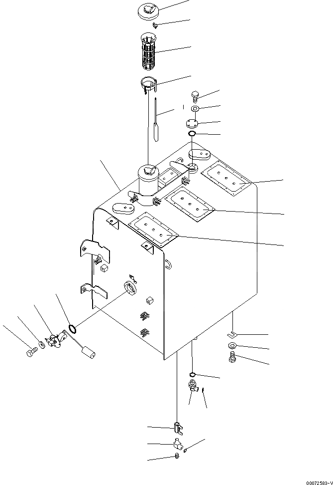
1
2
2
2
3
4
5
6
7
8
9
10
11
12
13
14
15
16
17
18
22
20
21
19
25
24
23
FIT
1:1
100%

Артикул

Название

Примечание

Количество

1

20Y-04-K3042

TANK

2

22U-00-28110

PLATE

3

20Y-04-11160

CAP

4

786-192-5810

SENSOR

5

07000-13050

O-RING

6

01010-80612

BOLT

7

01643-30623

WASHER

|8

22U-04-21241

STRAINER ASSEMBLY

|8

22U-04-21200

FLOAT ASSEMBLY

8

22U-04-21210

GUIDE

9

20Y-04-21580

CAP

10

22U-04-21220

FLOAT

11

07056-18425

STRAINER

12

02782-10315

ELBOW

13

07002-12034

O-RING

14

02896-11009

O-RING

15

07700-50240

VALVE

16

20Y-04-41231

ELBOW

17

07043-A0108

PLUG

18

02896-11009

O-RING

19

20Y-04-K3071

PLATE

20

07000-13032

O-RING

21

01010-80620

BOLT

22

01643-30623

WASHER

23

01010-81635

BOLT

24

01643-31645

WASHER

25

195-03-11570

SHIM, 1.0MM

Выбрано товаров: 27