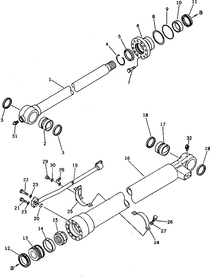
Запчасти Komatsu PC240-3K ЦИЛИНДР КОВША УПРАВЛ-Е РАБОЧИМ ОБОРУДОВАНИЕМ

Схема запчастей Komatsu PC240-3K - ЦИЛИНДР КОВША УПРАВЛ-Е РАБОЧИМ ОБОРУДОВАНИЕМ
FIT
1:1
100%

Артикул

Название

Примечание

Количество

|1

206-63-72100

BUCKET CYLINDER A.

1

206-63-72120

ROD,PISTON

2

707-76-80020

BUSHING

3

205-70-62140

SEAL,DUST

4

07179-00113

RING,SNAP

5

195-63-94170

SEAL,DUST

6

707-27-13771

HEAD,CYLINDER

7

01010-81655

BOLT

8

07146-02126

RING,BACK-UP

9

07000-12125

O-RING

10

07177-09040

BUSHING

11

707-51-90211

PACKING,ROD

12

707-44-13080

RING,PISTON

13

707-36-13460

PISTON

14

07155-01330

RING,WEAR

15

707-68-10680

NUT

16

206-63-72140

CYLINDER

17

707-76-80010

BUSHING

18

07145-00080

SEAL,DUST

19

206-63-72170

TUBE

20

07000-13030

O-RING

21

01010-50845

BOLT

22

01010-50855

BOLT

23

01602-20825

WASHER,SPRING

24

707-88-99340

BAND

25

707-88-99310

BAND

26

01010-51030

BOLT

27

01602-21030

WASHER,SPRING

28

07282-02793

CLAMP

29

01010-51020

BOLT

30

01602-21030

WASHER,SPRING

31

07020-00000

FITTING,GREASE

32

07020-00900

FITTING,GREASE

Выбрано товаров: 33