Запчасти Komatsu PC240-3K ЭЛЕКТРИКА (ЭЛЕКТРОПРОВОДКА) (/) (X¤B¤C) КОМПОНЕНТЫ ДВИГАТЕЛЯ И ЭЛЕКТРИКА

Схема запчастей Komatsu PC240-3K - ЭЛЕКТРИКА (ЭЛЕКТРОПРОВОДКА) (/) (X¤B¤C) КОМПОНЕНТЫ ДВИГАТЕЛЯ И ЭЛЕКТРИКА
FIT
1:1
100%

Артикул

Название

Примечание

Количество

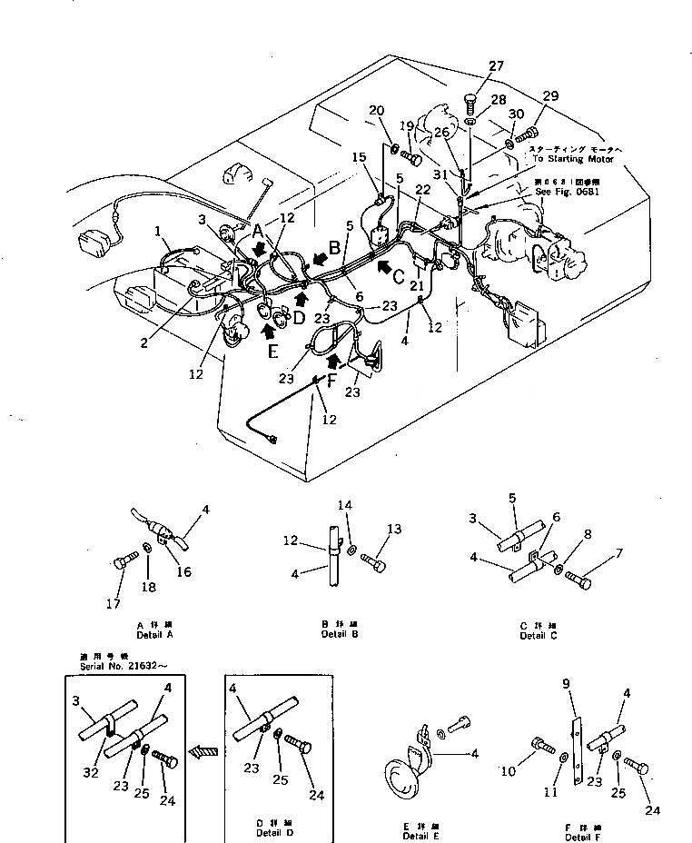
1

08028-13035

CABLE

2

08028-13045

CABLE

3

08028-13275

CABLE

4

205-06-71137

WIRING HARNESS

5

08036-01414

CLIP

6

08036-01814

CLIP

7

01010-51225

BOLT

8

01643-31232

WASHER

9

205-06-71240

PLATE

10

01010-51225

BOLT

11

01643-31232

WASHER

12

08036-10814

CLIP

13

01010-51225

BOLT

14

01643-31232

WASHER

15

195-06-41820

CLIP

|15

08036-01814

CLIP

15A

08052-31711

CLIP

|15A

08036-01814

CLIP

16

01010-51016

BOLT

17

01643-31032

WASHER

18

01010-51225

BOLT

19

01643-31232

WASHER

20

08036-01814

CLIP

21

08036-01414

CLIP

22

08036-02514

CLIP

23

01010-51225

BOLT

24

01643-31232

WASHER

25

08028-13035

CABLE

26

01010-51025

BOLT

27

01643-31032

WASHER

28

01010-50816

BOLT

29

01643-30823

WASHER

30

08038-00035

CAP

31

195-01-12520

CLIP

Выбрано товаров: 34