Запчасти Komatsu PC240-3K ПРЕДУПРЕЖД. ПЕРЕГРУЗКИ (/) (СПЕЦ-Я TBG) ИНСТРУМЕНТ

Схема запчастей Komatsu PC240-3K - ПРЕДУПРЕЖД. ПЕРЕГРУЗКИ (/) (СПЕЦ-Я TBG) ИНСТРУМЕНТ
FIT
1:1
100%

Артикул

Название

Примечание

Количество

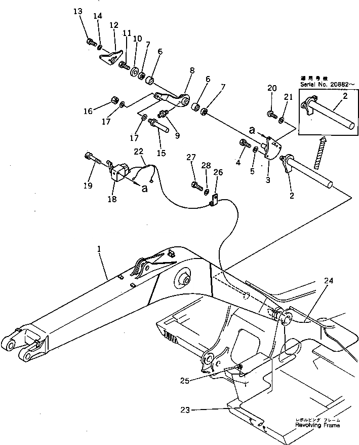
1

205-70-75110

BOOM

2

205-70-75121

PIN

3

205-70-75130

BRACKET

4

01010-51230

BOLT

5

01643-31232

WASHER

6

06120-03020

BEARING

7

06122-03004

SEAL,BEARING

8

205-70-75140

LEVER

9

07020-00000

FITTING,GREASE

10

205-70-65890

WASHER

11

01010-51225

BOLT

12

206-70-54530

CAM,(FOR STANDARD ARM)

13

01010-50825

BOLT

14

01643-30823

WASHER

15

205-70-65920

PIN

16

01580-11613

NUT

17

01643-31645

WASHER

18

205-62-69240

SWITCH

19

01252-40616

BOLT

20

01220-40612

SCREW

21

01643-30623

WASHER

22

205-06-71781

WIRE ASS'Y

23

207-06-31130

WIRE

24

205-06-71860

WIRE ASS'Y

25

08147-22400

LAMP,CAUTION

|25

08111-02430

BULB¤ 3W

26

08036-10814

CLIP

27

01010-51230

BOLT

28

01643-31232

WASHER

Выбрано товаров: 29