Запчасти Komatsu PC240-3K ПРЕДУПРЕЖД. ПЕРЕГРУЗКИ (/) (СПЕЦ-Я TBG) ИНСТРУМЕНТ

Схема запчастей Komatsu PC240-3K - ПРЕДУПРЕЖД. ПЕРЕГРУЗКИ (/) (СПЕЦ-Я TBG) ИНСТРУМЕНТ
FIT
1:1
100%

Артикул

Название

Примечание

Количество

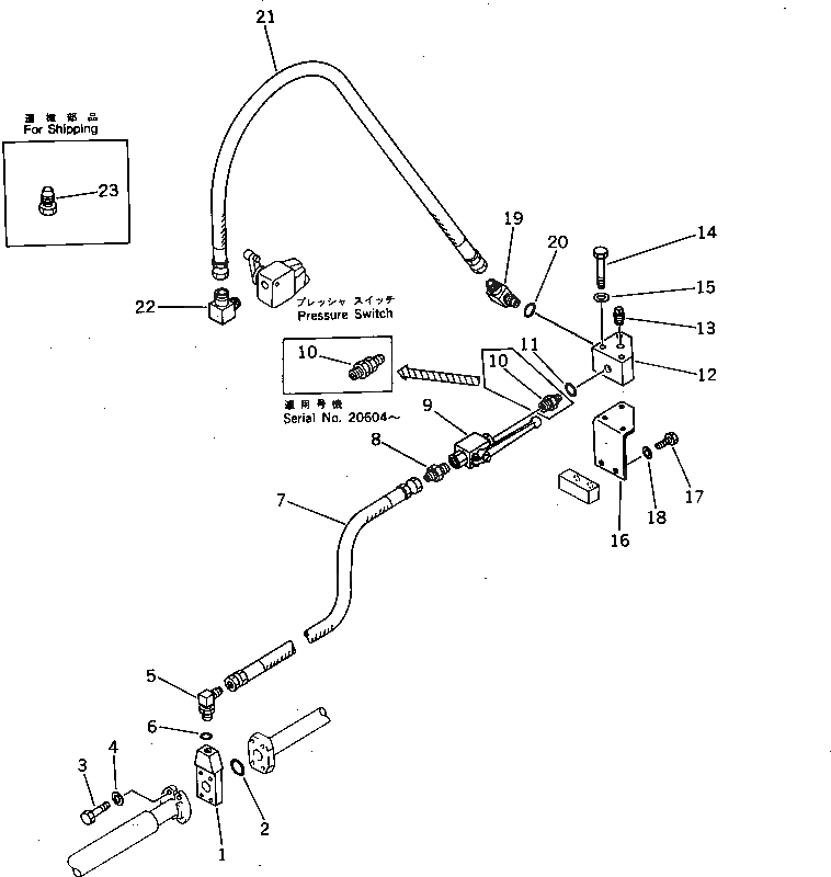
1

205-62-74420

FLANGE

2

07000-13030

O-RING

3

01090-50855

BOLT

4

01643-30823

WASHER

5

07235-10210

ELBOW

6

07002-11423

O-RING

7

07121-20209

HOSE

8

07238-00210

CONNECTOR

9

205-62-69250

VALVE

10

205-62-74690

NIPPLE

11

07002-11423

O-RING

12

205-62-69220

BLOCK

13

07042-30108

PLUG

14

01010-50860

BOLT

15

01643-30823

WASHER

16

205-62-K1250

BRACKET

|16

205-62-74410

BRACKET

17

01010-51225

BOLT

18

01643-31232

WASHER

19

07235-10210

ELBOW

20

07002-11423

O-RING

21

07121-20209

HOSE

22

205-62-74710

ELBOW

23

07376-50210

PLUG

Выбрано товаров: 24