Запчасти Komatsu PC240-3K MACHINERY ОБСТАНОВКА (/) (СПЕЦ-Я TBG) ИНСТРУМЕНТ

Схема запчастей Komatsu PC240-3K - MACHINERY ОБСТАНОВКА (/) (СПЕЦ-Я TBG) ИНСТРУМЕНТ
FIT
1:1
100%

Артикул

Название

Примечание

Количество

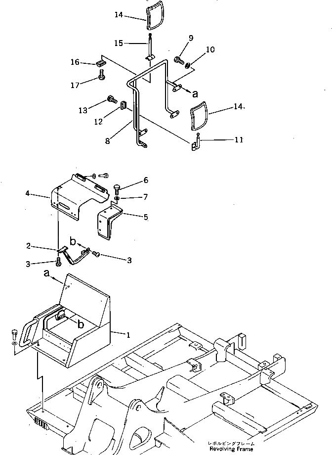
1

205-54-77221

COVER

2

208-54-13160

STAY

3

01225-40510

SCREW

4

205-54-77242

COVER

5

205-54-77232

COVER

6

01010-51220

BOLT

7

01643-31232

WASHER

8

205-54-77110

HAND RAIL

9

01010-51225

BOLT

10

01643-31232

WASHER

11

205-54-K1150

SUPPORT

|11

205-54-68480

SUPPORT

12

207-54-17840

CLAMP

13

01252-41025

BOLT

14

205-54-K1130

MIRROR

15

205-54-K1140

SUPPORT

|15

205-54-67141

SUPPORT

16

207-54-17840

CLAMP

17

01252-41025

BOLT

Выбрано товаров: 19