Запчасти Komatsu PC240-3K WRIST УПРАВЛ-Е И СТОЙКА¤ ПРАВ. (/) СИСТЕМА УПРАВЛЕНИЯ¤ ОСНОВНАЯ РАМА И КАБИНА

Схема запчастей Komatsu PC240-3K - WRIST УПРАВЛ-Е И СТОЙКА¤ ПРАВ. (/) СИСТЕМА УПРАВЛЕНИЯ¤ ОСНОВНАЯ РАМА И КАБИНА
FIT
1:1
100%

Артикул

Название

Примечание

Количество

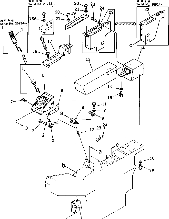
1

205-43-73700

SWITCH ASS'Y,(SEE FIG.4439)

2

205-43-73760

LEVER,R.H.

3

01010-50825

BOLT

4

01643-30823

WASHER

5

205-43-71223

BOOT

6

205-43-71991

COVER

7

205-43-71280

SCREW

8

205-43-71944

LEVER,R.H.

9

205-43-73561

PLATE

10

01643-30623

WASHER

11

01252-40614

BOLT

12

205-43-73340

SPRING

13

205-43-73580

CUSHION,R.H.

14

205-43-71622

COVER,R.H.

15

01010-50820

BOLT

16

01643-30823

WASHER

17

205-43-71961

COVER

18

205-43-71280

SCREW

19

205-43-71951

PLATE

20

205-43-71280

SCREW

21

205-43-73420

WASHER

22

205-43-K1110

COVER

23

198-911-3430

SCREW

24

198-911-3160

WASHER

Выбрано товаров: 24