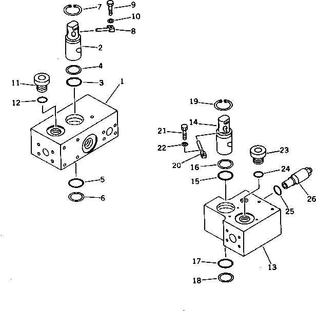
Запчасти Komatsu PC240-5K CROSS КЛАПАН (С ДОПОЛН. ГИДРОЛИНИЕЙ) УПРАВЛ-Е РАБОЧИМ ОБОРУДОВАНИЕМ

Схема запчастей Komatsu PC240-5K - CROSS КЛАПАН (С ДОПОЛН. ГИДРОЛИНИЕЙ) УПРАВЛ-Е РАБОЧИМ ОБОРУДОВАНИЕМ
FIT
1:1
100%

Артикул

Название

Примечание

Количество

1

20Y-970-1520

BLOCK

2

20Y-970-1611

ROTOR

3

07000-13042

O-RING

4

07001-03042

RING

5

07000-13048

O-RING

6

07001-03048

RING

7

04065-05220

RING

8

202-970-2210

PIN

9

01010-51230

BOLT

10

01643-31232

WASHER

11

07040-12414

PLUG

12

07002-12434

O-RING

13

20Y-970-1482

BLOCK

14

20Y-970-1611

ROTOR

15

07000-13042

O-RING

16

07001-03042

RING

17

07000-13048

O-RING

18

07001-03048

RING

19

04065-05220

RING

20

202-970-2210

PIN

21

01010-51230

BOLT

22

01643-31232

WASHER

23

07040-12414

PLUG

24

07002-12434

O-RING

25

07002-03034

O-RING

26

709-70-71800

VALVE ASS'Y

Выбрано товаров: 26