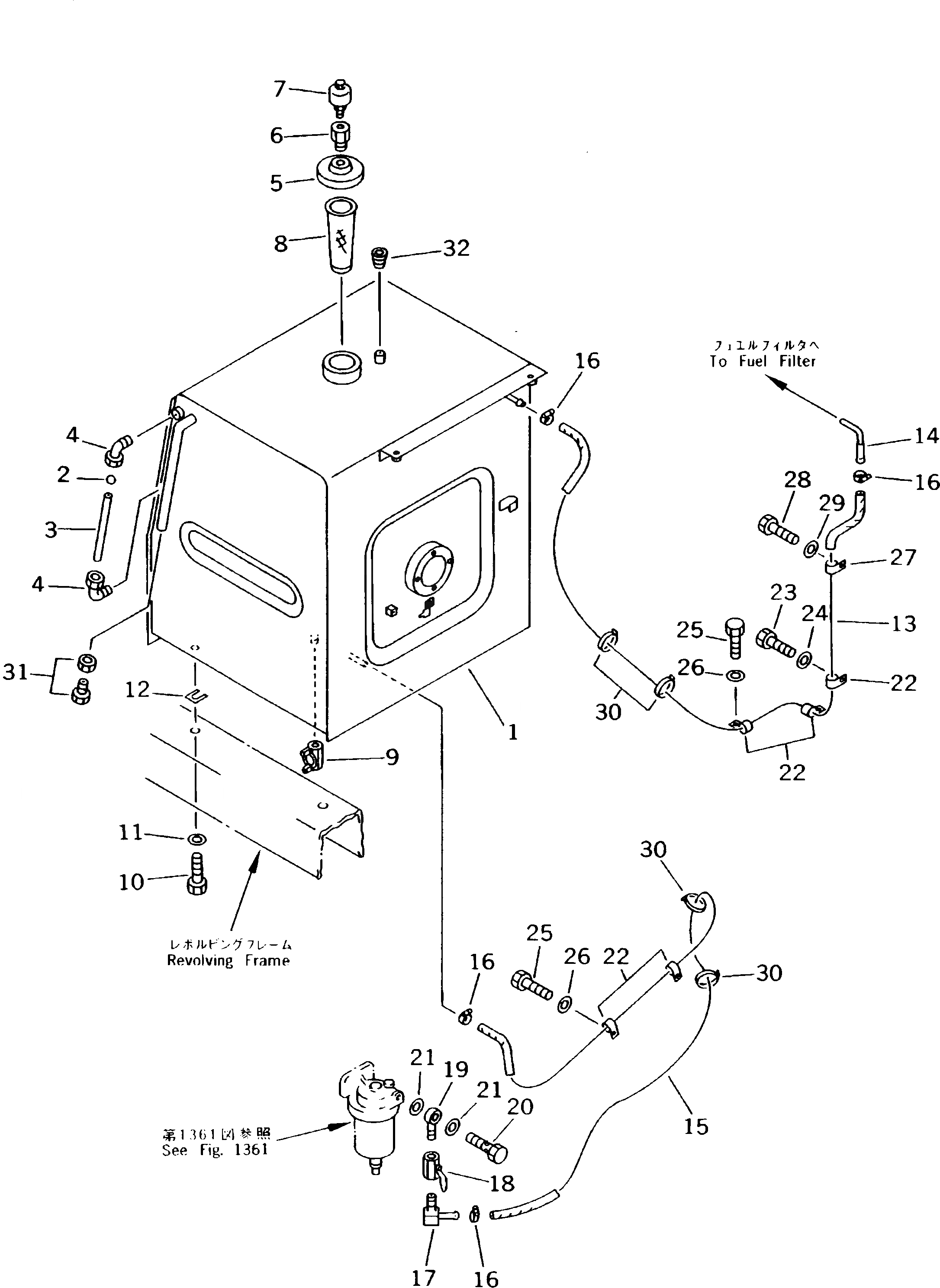
Запчасти Komatsu PC240-5K ТОПЛ. БАК И ТОПЛИВОПРОВОД(№K-K) КОМПОНЕНТЫ ДВИГАТЕЛЯ И ЭЛЕКТРИКА

Схема запчастей Komatsu PC240-5K - ТОПЛ. БАК И ТОПЛИВОПРОВОД(№K-K) КОМПОНЕНТЫ ДВИГАТЕЛЯ И ЭЛЕКТРИКА
FIT
1:1
100%

Артикул

Название

Примечание

Количество

1

20Y-04-K1150

TANK

2

208-04-19160

BALL,FLOAT

3

207-04-51120

TUBE

4

208-04-19130

ELBOW

5

198-04-19120

CAP

6

170-21-11190

NIPPLE

7

07030-00252

BREATHER

8

205-04-71140

STRAINER

9

20Y-04-11130

VALVE

10

01010-51635

BOLT

11

01643-31645

WASHER

12

195-03-11570

SHIM¤ 1.0MM

13

07288-11025

HOSE

14

205-04-71240

TUBE

15

07288-11017

HOSE

16

07281-00197

CLAMP

17

205-04-62130

ELBOW

18

07700-40240

VALVE

19

205-04-62140

JOINT

20

07206-31014

BOLT,JOINT

21

07005-01412

GASKET

22

08036-01814

CLIP

23

01010-51025

BOLT

24

01643-31032

WASHER

25

01010-51225

BOLT

26

01643-31232

WASHER

27

08036-11210

CLIP

28

01010-50816

BOLT

29

01643-30823

WASHER

30

08034-00823

BAND

31

203-04-K1140

END

32

07043-10211

PLUG

Выбрано товаров: 32