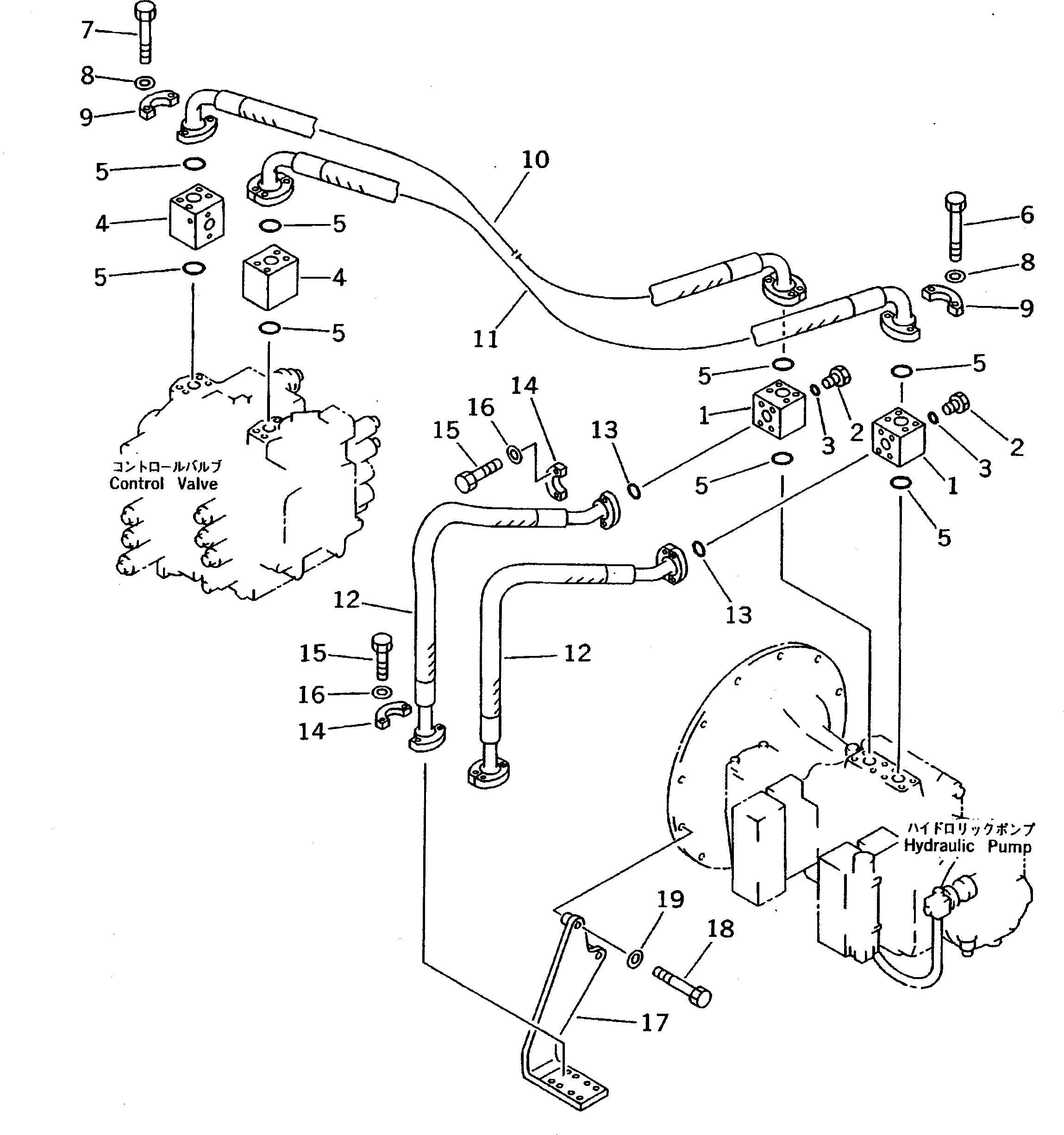
Запчасти Komatsu PC240-5K НАСОС - УПРАВЛЯЮЩ. КЛАПАН ТРУБЫ УПРАВЛ-Е РАБОЧИМ ОБОРУДОВАНИЕМ

Схема запчастей Komatsu PC240-5K - НАСОС - УПРАВЛЯЮЩ. КЛАПАН ТРУБЫ УПРАВЛ-Е РАБОЧИМ ОБОРУДОВАНИЕМ
FIT
1:1
100%

Артикул

Название

Примечание

Количество

1

20Y-62-15121

BLOCK

2

07040-11007

PLUG

3

07002-11023

O-RING

4

20Y-62-15150

BLOCK

5

21T-09-11460

O-RING

6

113-22-21230

BOLT

7

205-62-51310

BOLT

8

01643-51032

WASHER

9

07371-31049

FLANGE,SPLIT

10

20Y-62-15130

HOSE

11

20Y-62-15140

HOSE

12

20Y-62-11980

HOSE

13

21T-09-11430

O-RING

14

07371-30640

FLANGE,SPLIT

15

07372-21035

BOLT

16

01643-51032

WASHER

17

20Y-62-15580

BRACKET

18

01010-51080

BOLT

19

01643-31032

WASHER

Выбрано товаров: 19