Запчасти Komatsu PC240-5K ЭЛЕКТРИКА (ЭЛЕКТРОПРОВОДКА) (ДЛЯ УПРАВЛ-Е ДВИГАТЕЛЕМ)(№K-K7) КОМПОНЕНТЫ ДВИГАТЕЛЯ И ЭЛЕКТРИКА

Схема запчастей Komatsu PC240-5K - ЭЛЕКТРИКА (ЭЛЕКТРОПРОВОДКА) (ДЛЯ УПРАВЛ-Е ДВИГАТЕЛЕМ)(№K-K7) КОМПОНЕНТЫ ДВИГАТЕЛЯ И ЭЛЕКТРИКА
FIT
1:1
100%

Артикул

Название

Примечание

Количество

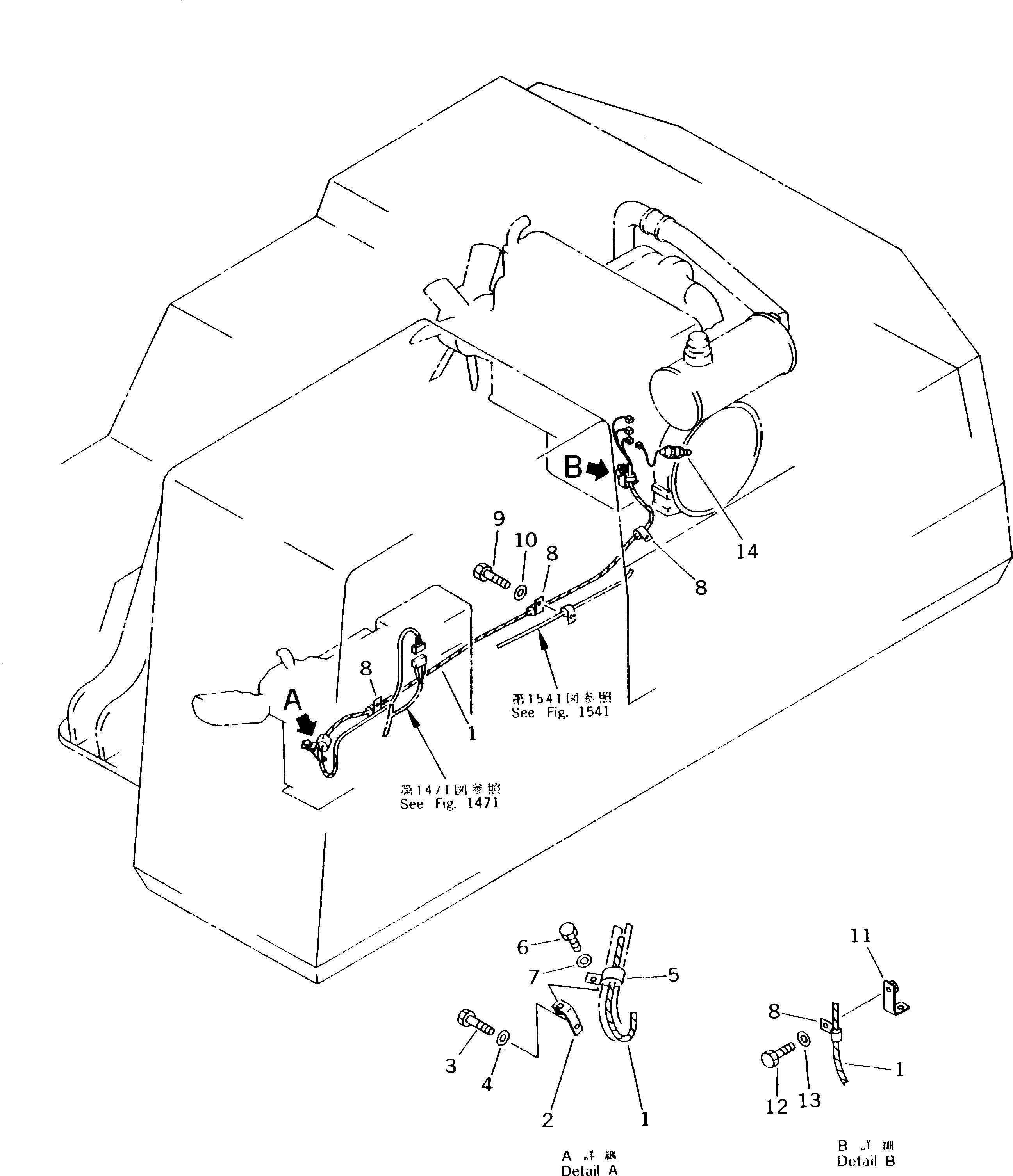
1

206-06-58230

WIRING HARNESS

2

17M-49-15260

BRACKET

3

01010-51225

BOLT

4

01643-31232

WASHER

5

20Y-06-15330

CLIP

6

01010-51225

BOLT

7

01643-31232

WASHER

8

08035-02514

CLIP

9

01010-51225

BOLT

10

01643-31232

WASHER

11

207-62-51270

BRACKET

12

01010-51025

BOLT

13

01643-31032

WASHER

14

7861-92-2310

SENSOR,PICK-UP

Выбрано товаров: 14