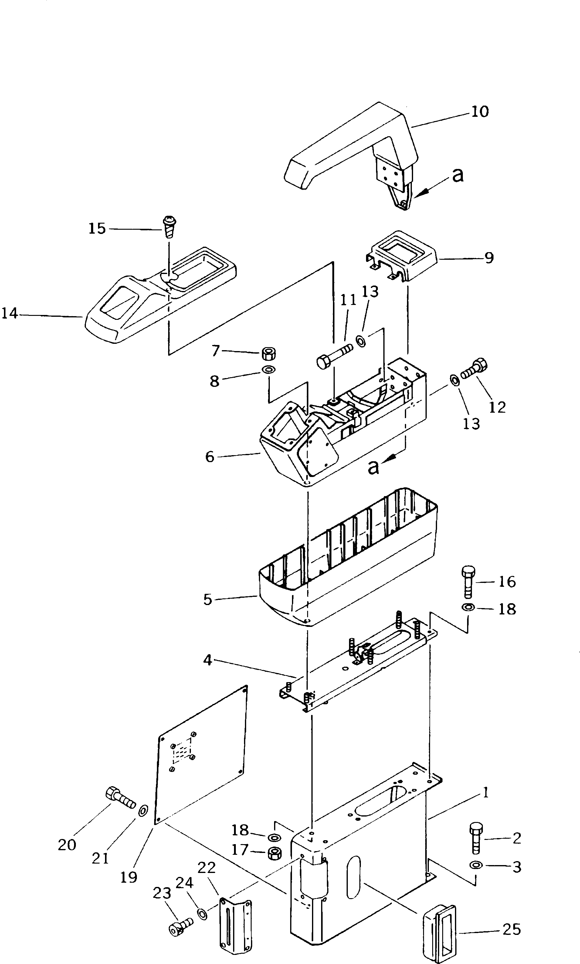
Запчасти Komatsu PC240-5K ЛЕВ. СТОЙКА И РЫЧАГ СИСТЕМА УПРАВЛЕНИЯ И ОСНОВНАЯ РАМА

Схема запчастей Komatsu PC240-5K - ЛЕВ. СТОЙКА И РЫЧАГ СИСТЕМА УПРАВЛЕНИЯ И ОСНОВНАЯ РАМА
FIT
1:1
100%

Артикул

Название

Примечание

Количество

1

20Y-43-K1161

STAND

|1

20Y-43-K1160

STAND

2

01010-51225

BOLT

3

01643-31232

WASHER

4

20Y-43-16510

RAIL

5

20Y-43-16520

CASE

6

20Y-43-16530

BRACKET

7

01580-10806

NUT

8

01643-30823

WASHER

9

20Y-43-16560

COVER

10

20Y-43-16570

REST,ARM

11

01010-50850

BOLT

12

01010-50816

BOLT

13

01643-30823

WASHER

14

20Y-43-16541

COVER

|14

20Y-43-16540

COVER

|14

20Y-43-16550

BUTTON

|14

20Y-43-16580

TRAY

15

20Y-43-16590

SCREW

16

01010-50820

BOLT

17

01580-10806

NUT

18

01643-30823

WASHER

19

20Y-43-K1110

COVER

20

01010-50820

BOLT

21

01643-30823

WASHER

22

20Y-43-K1140

COVER

23

20Y-43-K1180

BOLT

24

20Y-43-K1190

WASHER

25

205-43-72480

COVER

Выбрано товаров: 29