Запчасти Komatsu PC240-5K ОСНОВНАЯ РАМА(№K-K) СИСТЕМА УПРАВЛЕНИЯ И ОСНОВНАЯ РАМА

Схема запчастей Komatsu PC240-5K - ОСНОВНАЯ РАМА(№K-K) СИСТЕМА УПРАВЛЕНИЯ И ОСНОВНАЯ РАМА
FIT
1:1
100%

Артикул

Название

Примечание

Количество

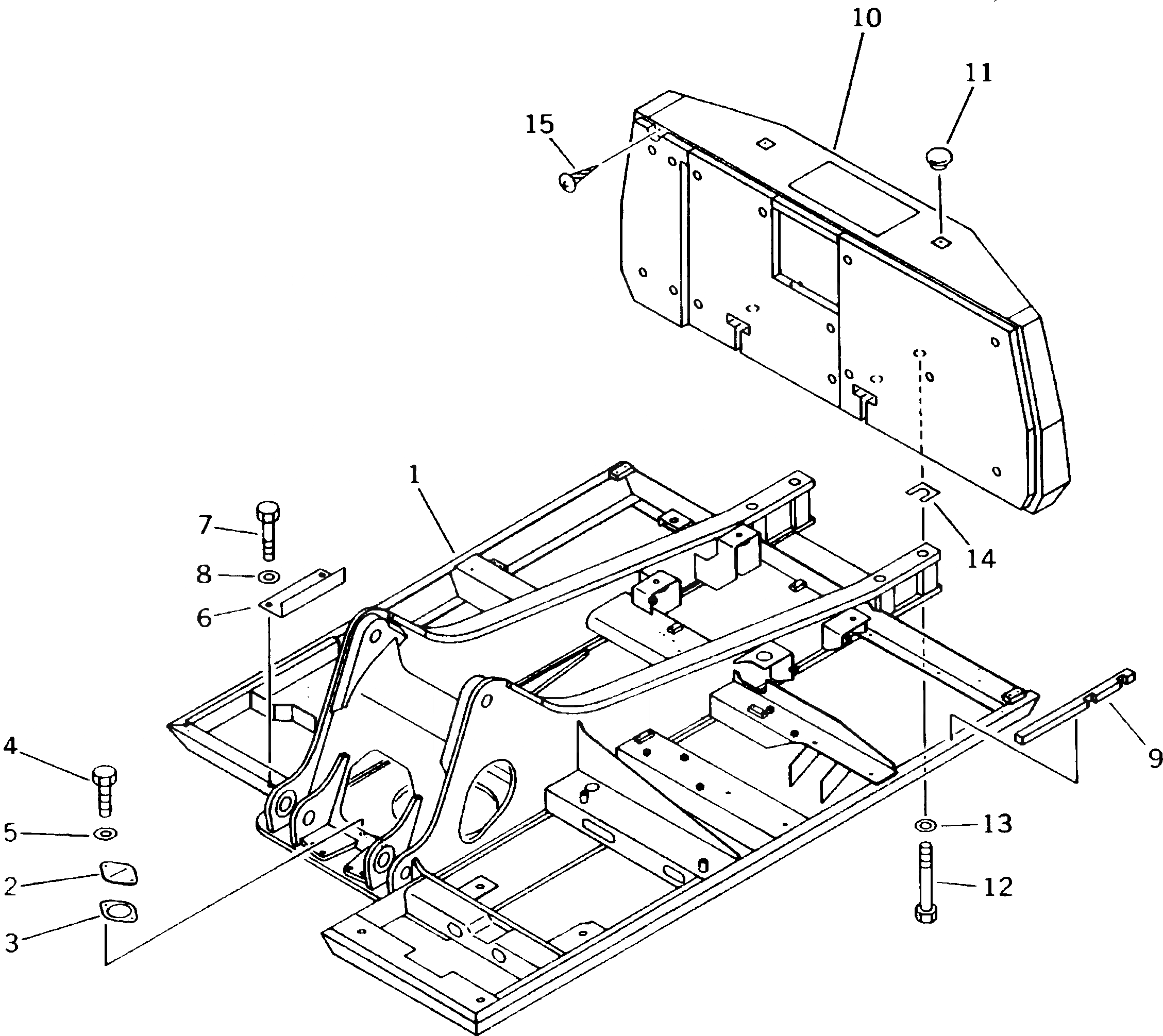
1

206-46-K1201

FRAME,REVOLVING

2

205-30-71181

COVER

3

205-30-71191

GASKET

4

01010-51230

BOLT

5

01643-31232

WASHER

6

206-46-58520

PLATE

7

01010-51230

BOLT

8

01643-31232

WASHER

9

206-46-K1330

SHEET

10

206-46-K1340

WEIGHT,COUNTER

11

20Y-46-11270

CAP

12

175-09-11110

BOLT

13

01643-32780

WASHER

14

20Y-46-11410

PLATE¤ 1.6MM

15

01370-00512

SCREW

Выбрано товаров: 15