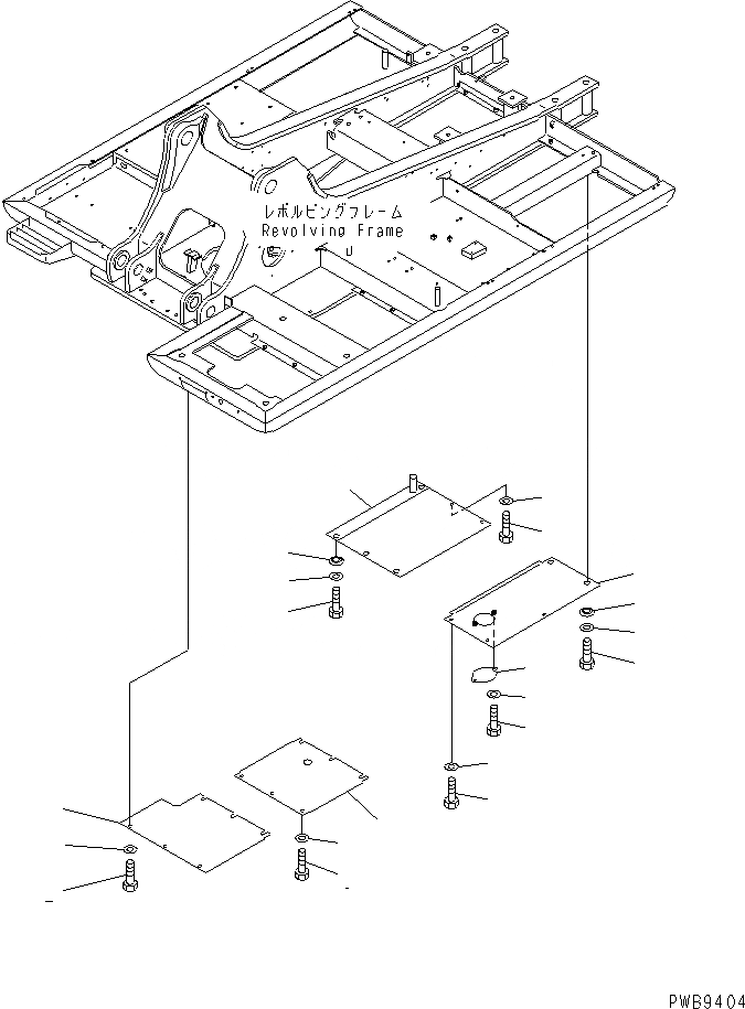
Запчасти Komatsu PC240-6K НИЖН. КРЫШКА (ОСНОВНАЯ РАМА)(№K-) ЧАСТИ КОРПУСА

Схема запчастей Komatsu PC240-6K - НИЖН. КРЫШКА (ОСНОВНАЯ РАМА)(№K-) ЧАСТИ КОРПУСА
1
2
3
4
5
6
7
8
9
10
11
12
13
14
15
16
17
18
19
20
21
FIT
1:1
100%

Артикул

Название

Примечание

Количество

1

20Y-54-K8820

COVER

2

01010-81230

BOLT

3

01643-31232

WASHER

4

206-54-K6340

COVER

5

01010-81230

BOLT

6

01643-31232

WASHER

7

01010-81230

BOLT

8

01643-31232

WASHER

9

01010-81230

BOLT

10

01643-31232

WASHER

11

208-54-57180

COLLAR

12

20Y-54-K9380

COVER

13

20Y-54-K8840

COVER

14

01010-81230

BOLT

15

01643-31232

WASHER

16

01010-81230

BOLT

17

01643-31232

WASHER

18

01010-81230

BOLT

19

01643-31232

WASHER

20

208-54-57180

COLLAR

21

20Y-54-K9510

COVER

Выбрано товаров: 21