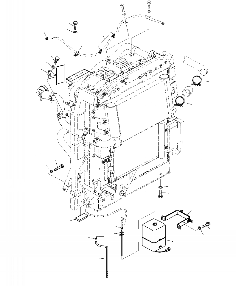
Запчасти Komatsu PC240LC-10 C- РЕЗЕРВН. БАК РАДИАТОРА И КРЕПЛЕНИЕ СИСТЕМА ОХЛАЖДЕНИЯ

Схема запчастей Komatsu PC240LC-10 - C- РЕЗЕРВН. БАК РАДИАТОРА И КРЕПЛЕНИЕ СИСТЕМА ОХЛАЖДЕНИЯ
1
2
17
18
19
15
14
16
21
20
13
4
3
8
8
5
6
7
9
10
10
11
12
FIT
1:1
100%

Артикул

Название

Примечание

Количество

1

01010-81640

BOLT

2

01643-31645

WASHER

3

01010-81655

BOLT

4

01643-31645

WASHER

5

2A5-03-11811

COVER

6

01010-81230

BOLT

7

01643-31232

WASHER

8

21T-62-69711

CLAMP

9

11Y-09-11140

CLIP

10

04434-51612

CLIP

11

01010-81230

BOLT

12

01643-31232

WASHER

13

2A5-03-11910

SHEET

14

206-03-43340

CLIP

15

419-03-21320

TANK, RESERVOIR

16

421-03-22170

CAP

17

2A5-54-13491

BRACKET

18

01010-81220

BOLT

19

01643-31232

WASHER

20

2A5-03-12140

HOSE

21

206-03-43340

CLIP

Выбрано товаров: 21