Запчасти Komatsu PC240LC-10 T- СТРЕЛА ВЕРХН. ПАЛЕЦ И ПАЛЕЦ РУКОЯТИ РАБОЧЕЕ ОБОРУДОВАНИЕ

Схема запчастей Komatsu PC240LC-10 - T- СТРЕЛА ВЕРХН. ПАЛЕЦ И ПАЛЕЦ РУКОЯТИ РАБОЧЕЕ ОБОРУДОВАНИЕ
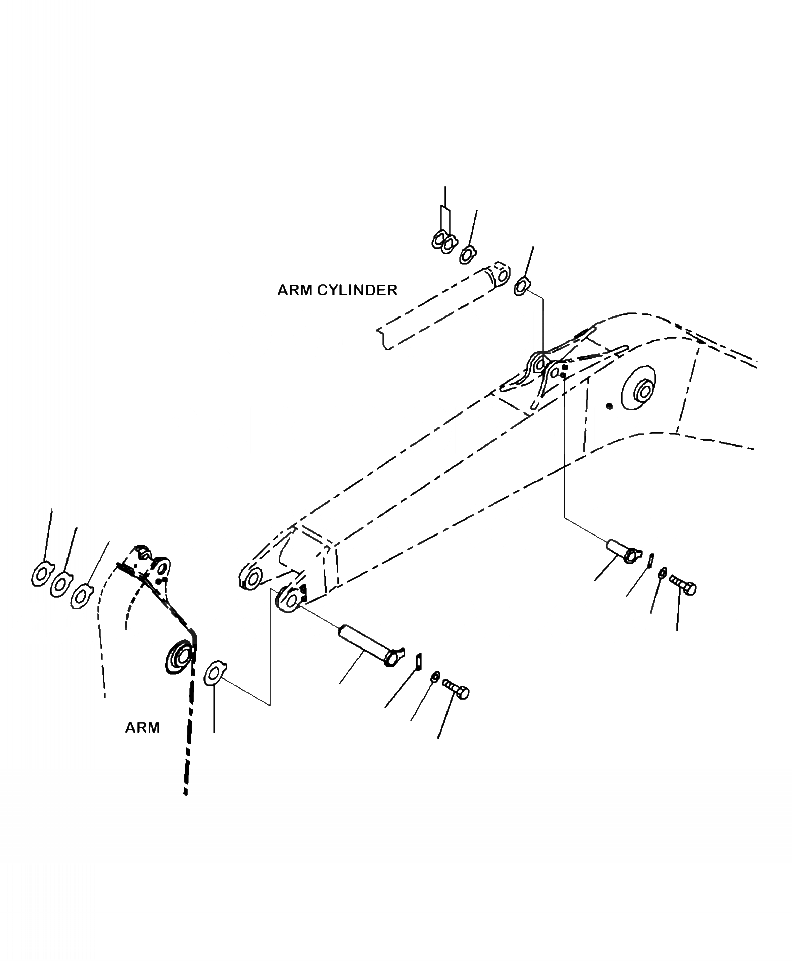
10
9
9
4
3
2
8
11
13
12
1
5
7
4
6
FIT
1:1
100%

Артикул

Название

Примечание

Количество

1

20Y-70-31252

PIN

2

22U-70-31340

SPACER, T = 2.5 MM

3

22U-70-31350

SPACER, T = 3.0 MM

4

22U-70-31280

SPACER, T = 2.0 MM

5

205-70-71312

PLATE

6

01010-81235

BOLT

7

01643-31232

WASHER

8

206-70-51170

PIN

9

206-70-31370

SPACER, T = 1.0 MM

10

206-70-31380

SPACER, T = 2.0 MM

11

205-70-66580

PLATE

12

01010-81230

BOLT

13

01643-31232

WASHER

Выбрано товаров: 13