Запчасти Komatsu PC240LC-3K СЕРВОКЛАПАН¤ ПЕРЕДН. (/) (Z) УПРАВЛ-Е РАБОЧИМ ОБОРУДОВАНИЕМ

Схема запчастей Komatsu PC240LC-3K - СЕРВОКЛАПАН¤ ПЕРЕДН. (/) (Z) УПРАВЛ-Е РАБОЧИМ ОБОРУДОВАНИЕМ
FIT
1:1
100%

Артикул

Название

Примечание

Количество

|1

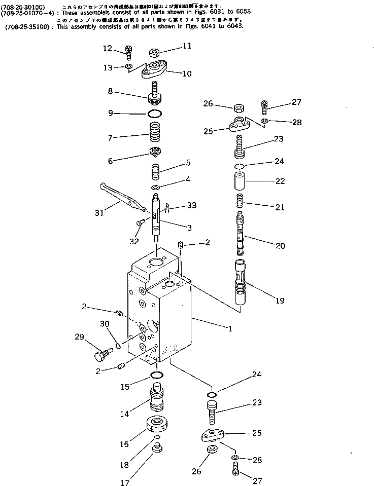
708-25-01071

PUMP ASS'Y

|1

708-25-07140

SERVO VALVE ASS'Y,FRONT

|1

708-25-35300

SERVO VALVE SUB A.

|1

708-23-07021

BODY ASS'Y

1

BODY

2

EXPANDER

3

708-25-15120

PISTON

4

708-25-15130

SEAT

5

708-25-25110

SPRING

6

708-23-15120

SEAT

7

708-25-25120

SPRING

8

708-23-15160

PLUG

9

07000-02018

O-RING

10

708-25-15150

COVER

11

01580-10806

NUT

12

708-25-15320

BOLT

13

01602-20619

WASHER,SPRING

14

708-25-15171

PLUG

15

07002-02034

O-RING

16

07239-12009

NUT

17

07040-11007

PLUG

18

07002-01023

O-RING

19

708-25-15180

SLEEVE

20

708-25-15280

SPOOL

21

708-25-15310

SPRING

22

708-25-15330

SPACER

23

708-25-15430

PLUG

24

07000-02012

O-RING

25

708-25-15250

COVER

26

01580-10806

NUT

27

708-25-15320

BOLT

28

01602-20619

WASHER,SPRING

29

708-25-15260

PLUG

30

07002-00823

O-RING

31

708-25-15270

ARM

32

04205-00514

PIN

33

04050-01210

PIN,COTTER

34

708-25-15340

SCREW

Выбрано товаров: 38