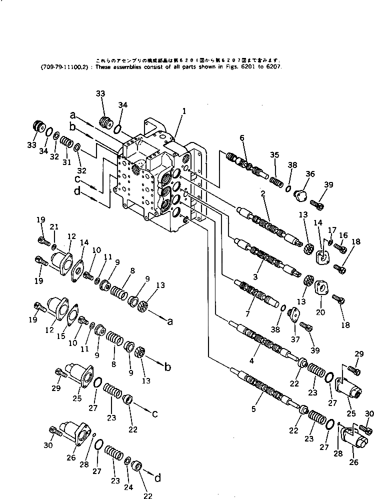
Запчасти Komatsu PC240LC-3K УПРАВЛЯЮЩ. КЛАПАН (/7) УПРАВЛ-Е РАБОЧИМ ОБОРУДОВАНИЕМ

Схема запчастей Komatsu PC240LC-3K - УПРАВЛЯЮЩ. КЛАПАН (/7) УПРАВЛ-Е РАБОЧИМ ОБОРУДОВАНИЕМ
FIT
1:1
100%

Артикул

Название

Примечание

Количество

|1

709-79-12107

CONTROL VALVE ASS'Y

|1

709-74-92104

VALVE ASS'Y

1

BODY,VALVE

2

SPOOL,R.H. TRAVEL

3

SPOOL,BOOM

4

SPOOL,BUCKET

5

SPOOL,ARM HIGH

6

SPOOL

7

SPOOL

8

709-74-92110

RETAINER

9

709-74-92180

SPRING

10

709-74-92360

SHIM¤ 0.5MM

11

709-74-92120

CASE

12

709-74-92140

CASE

13

709-74-92140

CASE

14

07000-02010

O-RING

15

709-74-92170

O-RING

16

01252-30820

BOLT

17

01252-30830

BOLT

18

709-75-92110

PLATE

19

709-75-92120

SEAL

20

709-75-92180

SPRING

21

709-74-92130

CASE

22

01252-30812

BOLT

23

01643-30823

WASHER

24

709-74-92140

CASE

25

01252-30812

BOLT

26

01252-30816

BOLT

27

01643-30823

WASHER

28

01252-30825

BOLT

29

01643-50823

WASHER

30

01252-30830

BOLT

31

700-23-13130

SPRING

32

709-74-92270

WASHER

33

709-74-92220

PLUG

34

07002-03034

O-RING

35

709-74-92190

SPRING

36

709-74-92250

PLATE

37

709-74-92240

PLATE

38

07000-02018

O-RING

39

01252-30820

BOLT

40

07040-11409

PLUG

41

07002-01423

O-RING

Выбрано товаров: 43