Запчасти Komatsu PC240LC-3K КОРОТК. РУКОЯТЬ¤ MM РАБОЧЕЕ ОБОРУДОВАНИЕ

Схема запчастей Komatsu PC240LC-3K - КОРОТК. РУКОЯТЬ¤ MM РАБОЧЕЕ ОБОРУДОВАНИЕ
FIT
1:1
100%

Артикул

Название

Примечание

Количество

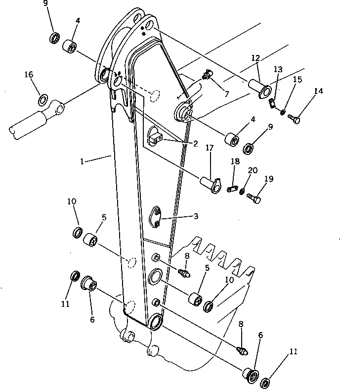
|1

206-944-0030

SHORT ARM ASS'Y

1

ARM

2

205-70-72180

BUSHING

|2

205-70-66550

BUSHING

3

21K-70-12161

BUSHING

4

205-70-72130

BUSHING

5

07020-00900

FITTING,GREASE

6

07020-00000

FITTING,GREASE

7

07145-00090

SEAL,DUST

8

205-70-62140

SEAL,DUST

9

205-70-62150

SEAL,DUST

10

206-70-51170

PIN

11

205-70-66580

PLATE

12

01010-51235

BOLT

13

01643-31232

WASHER

14

205-70-51520

SPACER¤ 1.0MM

15

205-70-71320

PIN

16

205-70-66580

PLATE

17

01010-51235

BOLT

18

01643-31232

WASHER

Выбрано товаров: 20