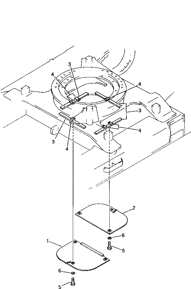
Запчасти Komatsu PC240LC-3K ГУСЕНИЧНАЯ РАМА НИЖН. КРЫШКА ОПЦИОННЫЕ КОМПОНЕНТЫ

Схема запчастей Komatsu PC240LC-3K - ГУСЕНИЧНАЯ РАМА НИЖН. КРЫШКА ОПЦИОННЫЕ КОМПОНЕНТЫ
FIT
1:1
100%

Артикул

Название

Примечание

Количество

1

205-30-71410

COVER

2

205-30-71420

COVER

3

205-30-71430

PLATE (WELDED)

4

01573-12308

SEAT (WELDED)

5

01010-51235

BOLT

6

01643-31232

WASHER

Выбрано товаров: 6