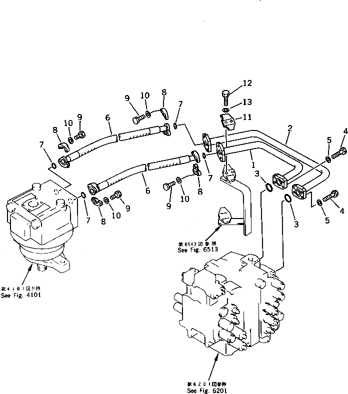
Запчасти Komatsu PC240LC-3K ГИДРОЛИНИЯ (УПРАВЛЯЮЩ. КЛАПАН TO/FROM МОТОР ПОВОРОТА) СИСТЕМА УПРАВЛЕНИЯ¤ ОСНОВНАЯ РАМА И КАБИНА

Схема запчастей Komatsu PC240LC-3K - ГИДРОЛИНИЯ (УПРАВЛЯЮЩ. КЛАПАН TO/FROM МОТОР ПОВОРОТА) СИСТЕМА УПРАВЛЕНИЯ¤ ОСНОВНАЯ РАМА И КАБИНА
FIT
1:1
100%

Артикул

Название

Примечание

Количество

1

205-62-71312

TUBE

2

205-62-71322

TUBE

3

21T-09-11450

O-RING

4

01010-50830

BOLT

5

01643-50823

WASHER

6

206-62-K1170

HOSE

|6

205-62-71170

HOSE

7

07000-13025

O-RING

8

07371-30638

FLANGE,SPLIT

9

01010-50830

BOLT

10

01643-50823

WASHER

11

205-62-71470

CLAMP

12

205-09-71110

BOLT

13

01643-31032

WASHER

Выбрано товаров: 14