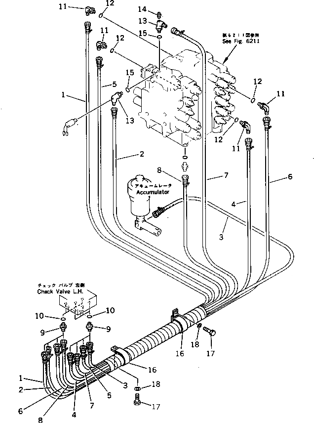
Запчасти Komatsu PC240LC-3K P.P.C. КЛАПАН ТРУБЫ (/) (A¤B) СИСТЕМА УПРАВЛЕНИЯ¤ ОСНОВНАЯ РАМА И КАБИНА

Схема запчастей Komatsu PC240LC-3K - P.P.C. КЛАПАН ТРУБЫ (/) (A¤B) СИСТЕМА УПРАВЛЕНИЯ¤ ОСНОВНАЯ РАМА И КАБИНА
FIT
1:1
100%

Артикул

Название

Примечание

Количество

|1

205-62-74170

HOSE ASS'Y

1

205-62-71740

HOSE,(WHITE)

2

205-62-71730

HOSE,(BROWN)

3

205-62-71720

HOSE,(RED)

4

205-62-71730

HOSE,(GREEN)

5

205-62-71790

HOSE,(BLACK)

6

205-62-74520

HOSE,(YELLOW)

7

205-62-71790

HOSE

8

205-62-71780

HOSE,(BLUE)

9

07230-20210

UNION

|9

07230-10210

UNION

10

07002-01423

O-RING

11

07235-10210

ELBOW

12

07002-01423

O-RING

13

07235-50210

ELBOW

14

07042-30108

PLUG

15

07002-01423

O-RING

16

21T-06-11950

CLIP

17

01010-51225

BOLT

18

01643-31232

WASHER

Выбрано товаров: 20