Запчасти Komatsu PC240LC-3K ГИДРАВЛ ПОРШЕНЬ НАСОС (/) (C) УПРАВЛ-Е РАБОЧИМ ОБОРУДОВАНИЕМ

Схема запчастей Komatsu PC240LC-3K - ГИДРАВЛ ПОРШЕНЬ НАСОС (/) (C) УПРАВЛ-Е РАБОЧИМ ОБОРУДОВАНИЕМ
FIT
1:1
100%

Артикул

Название

Примечание

Количество

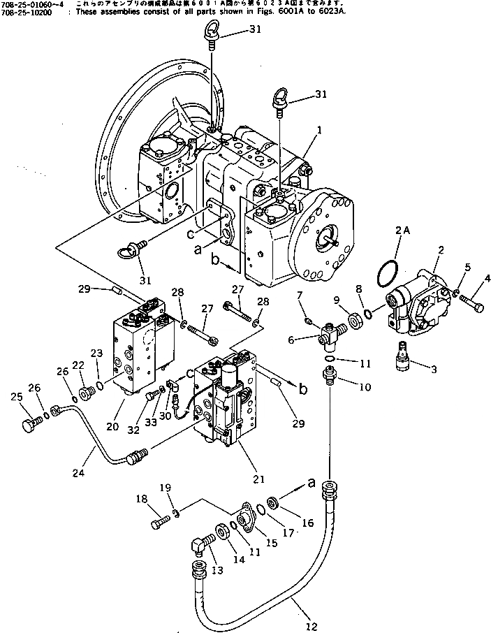
|1

708-25-01051

PUMP ASS'Y

|1

708-25-01150

PUMP SUB ASS'Y

1

708-25-01250

PUMP SUB ASS'Y

2

704-24-28202

PUMP ASS'Y

3

708-25-14901

RELIEF VALVE ASS'Y

4

01010-31260

BOLT

5

01602-01236

WASHER,SPRING

6

708-25-19111

JOINT

7

07042-20108

PLUG

8

07002-02434

O-RING

9

07239-12410

NUT

10

07230-10422

UNION

11

07002-02034

O-RING

12

07102-20404

HOSE

13

07231-20422

ELBOW

14

07239-12009

NUT

15

708-25-19120

FLANGE

16

720-68-15240

FILTER

17

07000-02021

O-RING

18

01010-30820

BOLT

19

01602-00825

WASHER,SPRING

20

708-25-07110

SERVO VALVE ASS'Y,FRONT

21

708-25-07220

SERVO VALVE ASS'Y,REAR

22

706-46-53260

PLUG

23

07002-01423

O-RING

24

708-25-19140

TUBE

25

706-46-53180

BOLT,JOINT

26

07000-02012

O-RING

27

708-25-19130

BOLT

28

01602-00825

WASHER,SPRING

29

04020-00616

PIN,DOWEL

30

07000-03048

O-RING

31

08036-21814

CLIP

32

04530-01018

BOLT,EYE

33

01010-31016

BOLT

34

01643-31032

WASHER

Выбрано товаров: 36