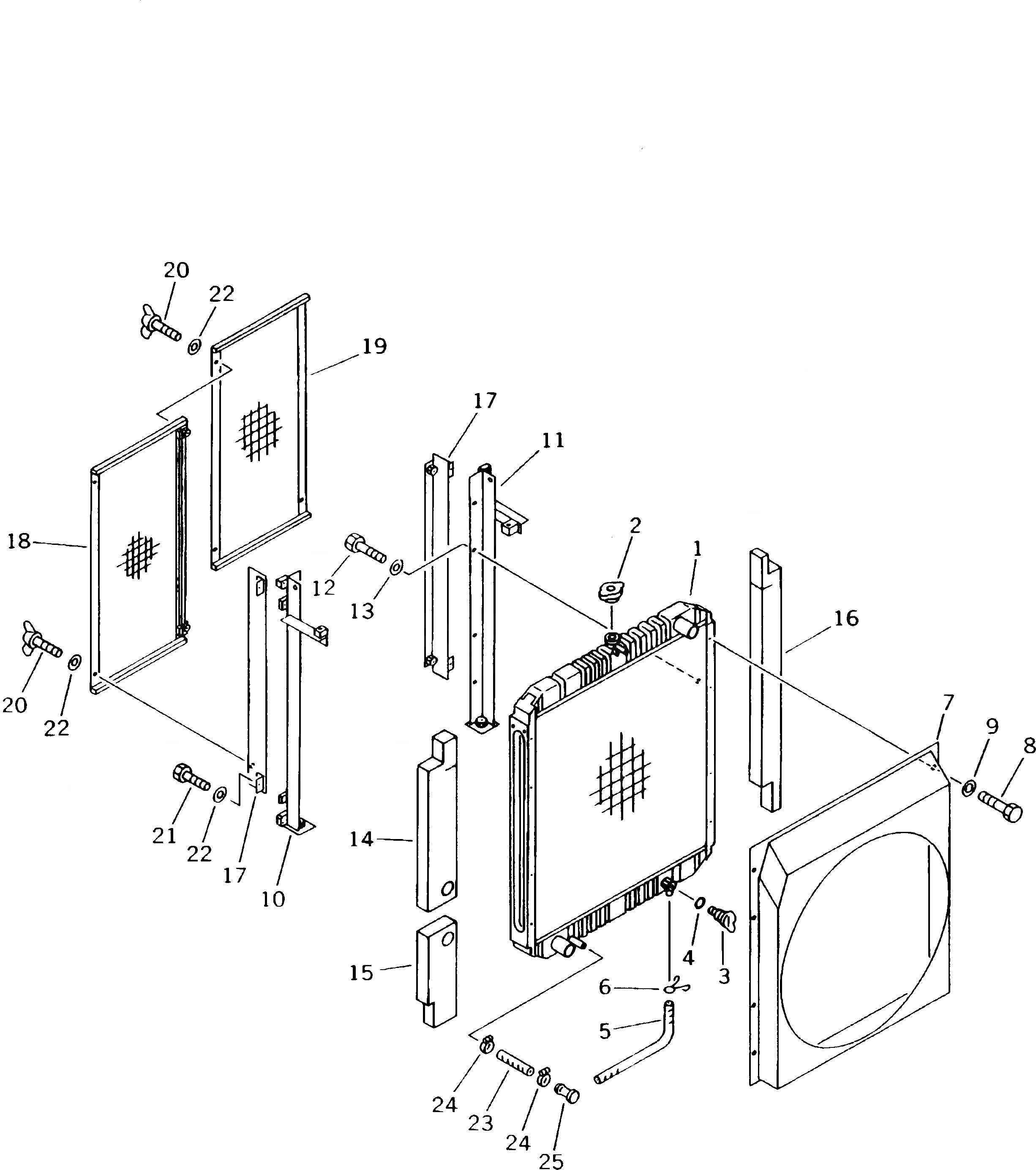
Запчасти Komatsu PC240LC-5K РАДИАТОР(№K-K) КОМПОНЕНТЫ ДВИГАТЕЛЯ И ЭЛЕКТРИКА

Схема запчастей Komatsu PC240LC-5K - РАДИАТОР(№K-K) КОМПОНЕНТЫ ДВИГАТЕЛЯ И ЭЛЕКТРИКА
FIT
1:1
100%

Артикул

Название

Примечание

Количество

1

206-03-51111

CORE ASS'Y

2

205-03-71280

CAP ASS'Y

3

205-03-62660

PLUG

4

07000-01007

O-RING

5

203-03-41411

HOSE

6

20Y-03-11330

CLIP

7

206-03-58270

SHROUD

8

01010-50816

BOLT

9

01643-30823

WASHER

10

20Y-03-11353

FRAME

11

20Y-03-11343

FRAME

12

01010-50816

BOLT

13

01643-30823

WASHER

14

20Y-03-K1110

SEAL

15

20Y-03-K1120

SEAL

16

206-03-K1110

SEAL

17

20Y-03-11581

BRACKET

18

20Y-03-11560

NET

19

20Y-03-11542

NET

20

01434-10820

BOLT¤ WING

21

01010-50816

BOLT

22

01643-30823

WASHER

23

195-979-4830

HOSE

24

07281-00259

CLAMP

25

205-03-62720

PLUG

Выбрано товаров: 25