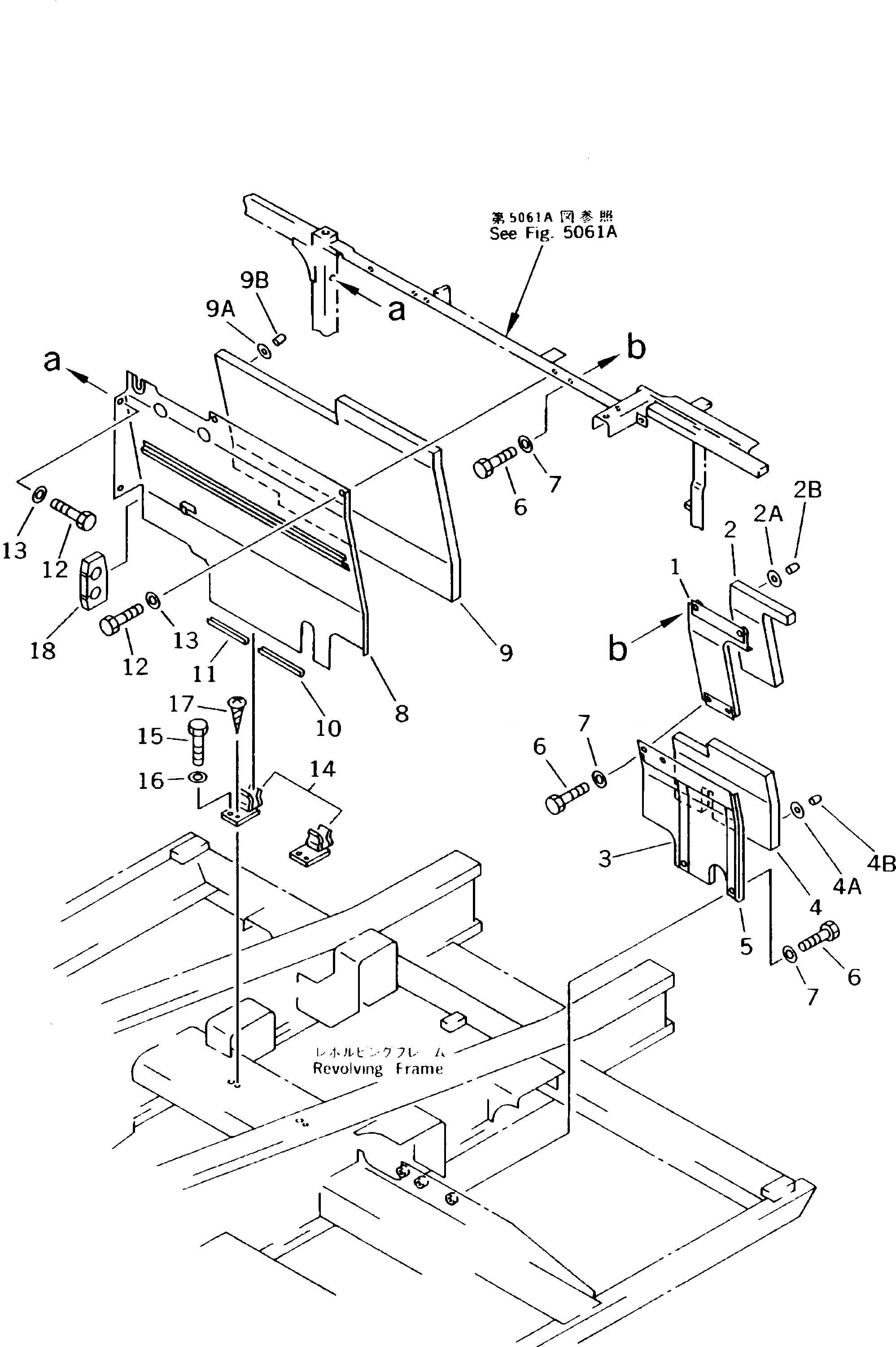
Запчасти Komatsu PC240LC-5K ПЕРЕГОРОДКА(№K-) ЧАСТИ КОРПУСА

Схема запчастей Komatsu PC240LC-5K - ПЕРЕГОРОДКА(№K-) ЧАСТИ КОРПУСА
FIT
1:1
100%

Артикул

Название

Примечание

Количество

1

20Y-54-K5250

COVER

2

20Y-54-K5270

SHEET

2A

205-54-K5371

WASHER

2B

205-54-K5320

CAP

3

20Y-54-K4470

COVER

4

20Y-54-K4460

SHEET

4A

205-54-K5371

WASHER

4B

205-54-K5320

CAP

5

20Y-54-K4450

SHEET

6

01010-51230

BOLT

7

20Y-54-12670

WASHER

8

20Y-54-K4410

COVER

9

20Y-54-K4370

SHEET

9A

205-54-K5371

WASHER

9B

205-54-K5320

CAP

10

20Y-54-K4390

SHEET

11

20Y-54-K4380

SEAL

12

01010-51230

BOLT

13

20Y-54-12670

WASHER

14

20Y-54-12320

CATCH

15

01010-51230

BOLT

16

01643-31232

WASHER

17

01370-00512

SCREW

18

20Y-54-K5340

SHEET

Выбрано товаров: 24