Запчасти Komatsu PC240LC-5K РАДИАТОР(№K-) КОМПОНЕНТЫ ДВИГАТЕЛЯ И ЭЛЕКТРИКА

Схема запчастей Komatsu PC240LC-5K - РАДИАТОР(№K-) КОМПОНЕНТЫ ДВИГАТЕЛЯ И ЭЛЕКТРИКА
FIT
1:1
100%

Артикул

Название

Примечание

Количество

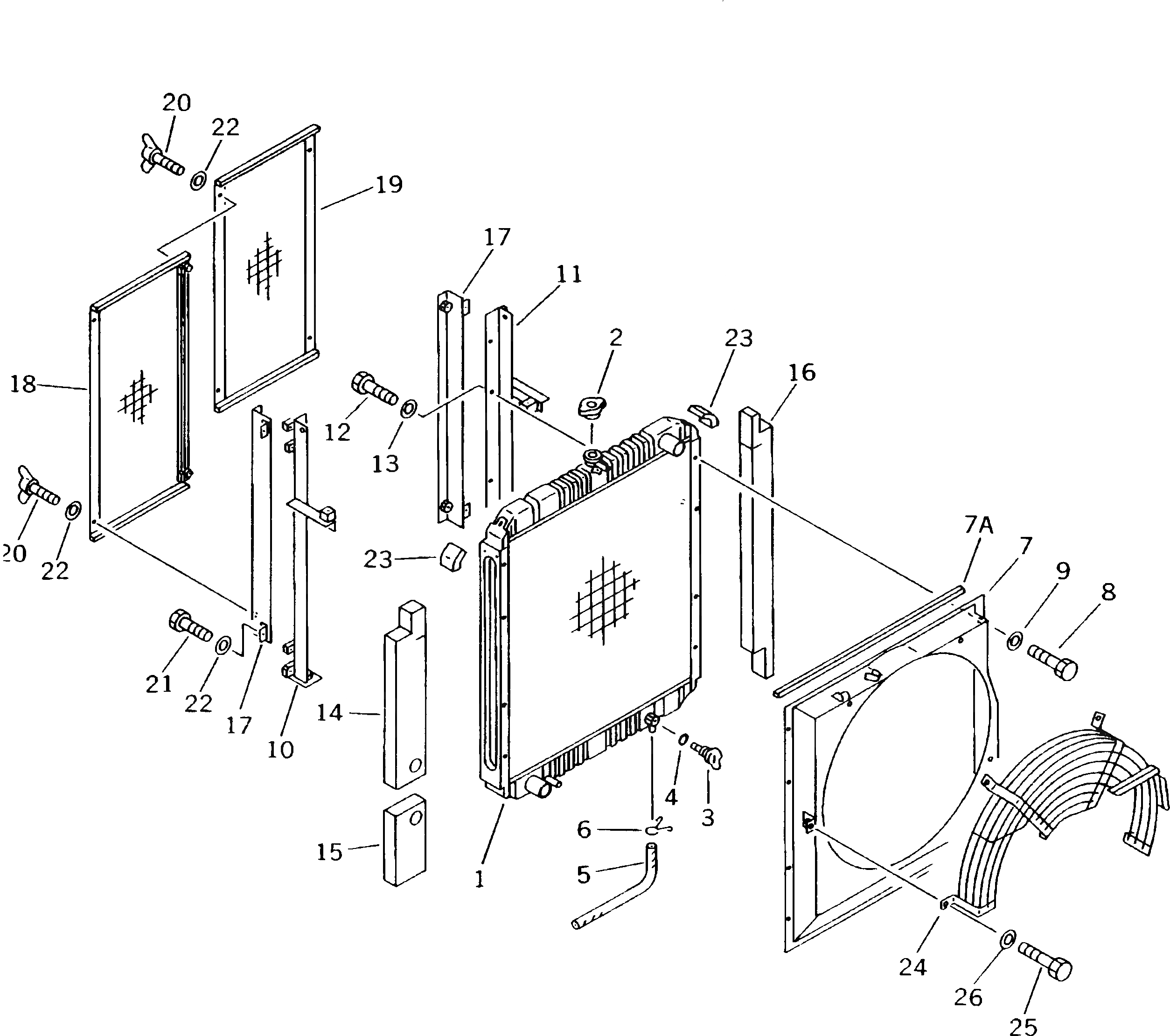
1

20Y-03-14120

CORE ASS'Y

2

205-03-71280

CAP ASS'Y

3

205-03-62660

PLUG

4

07000-01007

O-RING

5

203-03-41411

HOSE

6

20Y-03-11330

CLIP

7

206-03-58410

SHROUD

7A

20Y-03-14110

SEAL

8

01010-50816

BOLT

9

01643-30823

WASHER

10

206-03-58430

FRAME

11

206-03-58420

FRAME

12

01010-50816

BOLT

13

01643-30823

WASHER

14

206-54-K2760

SEAL

15

206-54-K2750

SEAL

16

206-54-K2740

SEAL

17

20Y-03-11582

BRACKET

18

20Y-03-11561

NET

19

20Y-03-11543

NET

20

01434-10820

BOLT¤ WING

21

01010-50816

BOLT

22

01643-30823

WASHER

23

20Y-03-11641

SEAL

24

206-03-58310

NET

25

01010-51025

BOLT

26

01643-31032

WASHER

Выбрано товаров: 27