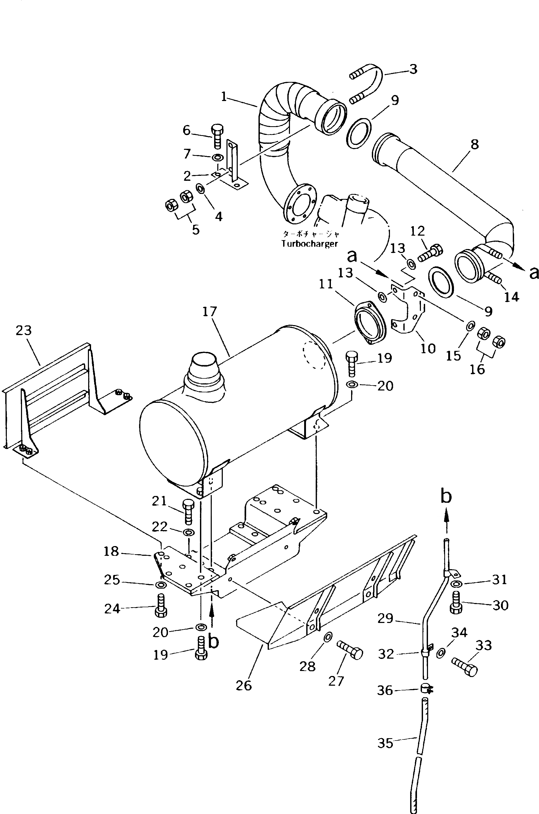
Запчасти Komatsu PC240LC-5K ГЛУШИТЕЛЬ КОМПОНЕНТЫ ДВИГАТЕЛЯ И ЭЛЕКТРИКА

Схема запчастей Komatsu PC240LC-5K - ГЛУШИТЕЛЬ КОМПОНЕНТЫ ДВИГАТЕЛЯ И ЭЛЕКТРИКА
FIT
1:1
100%

Артикул

Название

Примечание

Количество

1

205-01-73420

TUBE

2

205-01-73450

BRACKET

3

07283-27663

CLIP

4

01643-31032

WASHER

5

01582-11008

NUT

6

01010-51025

BOLT

7

01643-31032

WASHER

8

206-01-58271

TUBE

9

6136-12-5280

RING,SEAL

10

206-01-58260

BRACKET

11

6137-11-5370

JOINT

12

01020-10830

BOLT

13

01643-30823

WASHER

14

07283-27663

CLIP

15

01643-31032

WASHER

16

01582-11008

NUT

17

205-01-73410

MUFFLER

18

206-01-58170

BRACKET

19

01010-51030

BOLT

20

01643-31032

WASHER

21

01010-51245

BOLT

22

01643-31232

WASHER

23

206-01-58180

COVER

24

01010-51030

BOLT

25

01643-31032

WASHER

26

206-01-58190

BRACKET

27

01010-51030

BOLT

28

01643-31032

WASHER

29

206-01-58281

TUBE

30

01010-51030

BOLT

31

01643-31032

WASHER

32

08036-21014

CLIP

33

01010-51020

BOLT

34

01643-31032

WASHER

35

07260-20950

HOSE

36

07285-00150

CLIP

Выбрано товаров: 36