Запчасти Komatsu PC240LC-6K ПРАВ. КОРПУС(№K-K) ЧАСТИ КОРПУСА

Схема запчастей Komatsu PC240LC-6K - ПРАВ. КОРПУС(№K-K) ЧАСТИ КОРПУСА
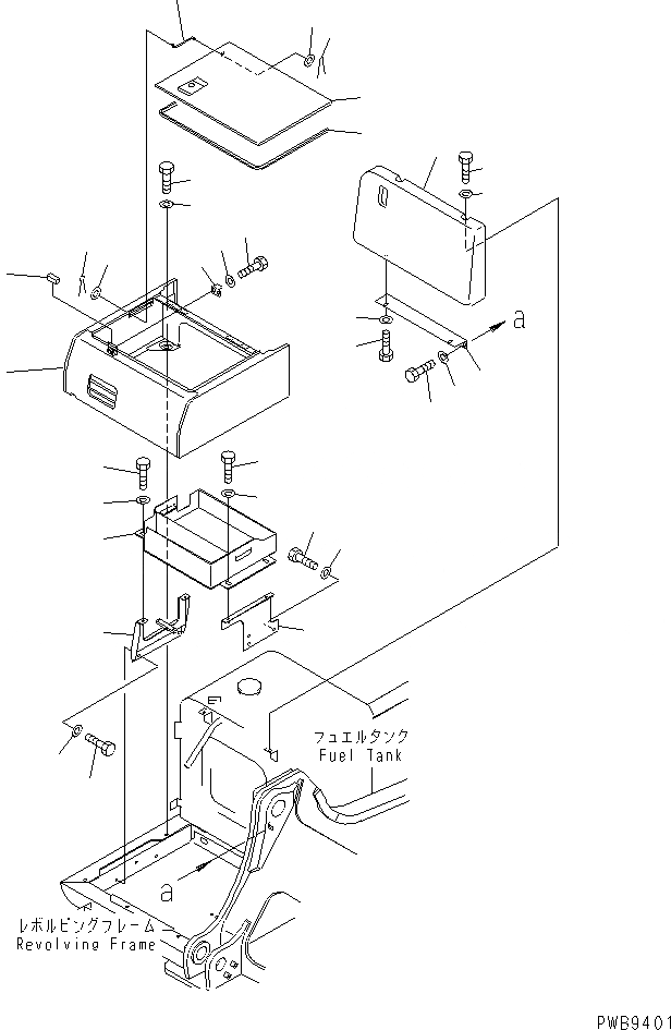
1
2
3
3
4
5
6
6
7
8
8
9
10
11
12
12
13
13
14
15
16
17
18
19
20
21
22
23
24
25
25
26
26
FIT
1:1
100%

Артикул

Название

Примечание

Количество

1

20Y-54-KA120

COVER

2

20Y-54-34670

BRACKET

3

20Y-54-K9470

CASE ASS'Y

4

20Y-54-K7650

SEAL

5

01010-81230

BOLT

6

01643-30623

WASHER

7

01643-31232

WASHER

8

04050-11612

PIN,COTTER

9

20Y-54-29680

SHEET

10

20Y-54-K7641

PLATE

11

203-54-56630

ROD

12

01010-81230

BOLT

13

01643-31232

WASHER

14

01010-81230

BOLT

15

01643-31232

WASHER

16

175-54-34170

WASHER

17

01010-81230

BOLT

18

20Y-04-K1371

BRACKET

19

01010-81230

BOLT

20

01643-31232

WASHER

21

20Y-04-K1351

BRACKET

22

01010-81230

BOLT

23

01643-31232

WASHER

24

20Y-04-K1361

BOX

25

01010-81025

BOLT

26

01643-31232

WASHER

Выбрано товаров: 26