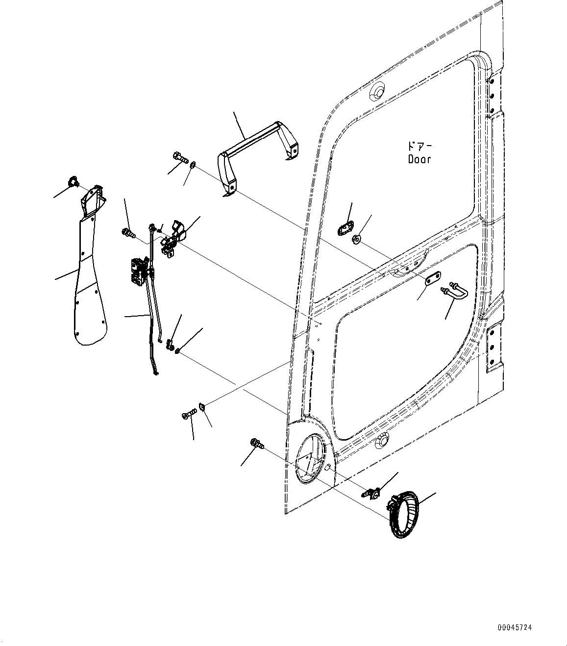
Запчасти Komatsu PC240LC-8 КАБИНА, ATT, ЗАМОК ДВЕРИ КАБИНА, ATT

Схема запчастей Komatsu PC240LC-8 - КАБИНА, ATT, ЗАМОК ДВЕРИ КАБИНА, ATT
13
14
15
1
4
6
8
7
18
19
16
17
12
11
5
9
10
2
3
20
FIT
1:1
100%

Артикул

Название

Примечание

Количество

|1

20Y-53-00460

Cab Assembly

|1

20Y-53-00072

Door Assembly

1

20Y-53-12201

Latch Assembly

2

20Y-54-52300

Handle Assembly

3

22B-54-16340

Snap

4

01023-10612

Screw

5

20Y-53-12991

Handle

6

01023-10612

Screw

7

01240-00616

Screw

8

195-Z11-1690

Washer

9

20Y-54-52820

Lock Assembly

10

22B-54-16330

Snap

11

20Y-53-11320

Striker

12

20Y-53-12940

Plate

13

01584-01008

Nut

14

20Y-53-12661

Cover

15

20Y-54-51393

Grip

16

01010-80820

Bolt

17

01643-30823

Washer

18

20Y-53-11441

Cover

19

22B-54-16461

Rivet

20

145-Z79-6270

Washer

Выбрано товаров: 22