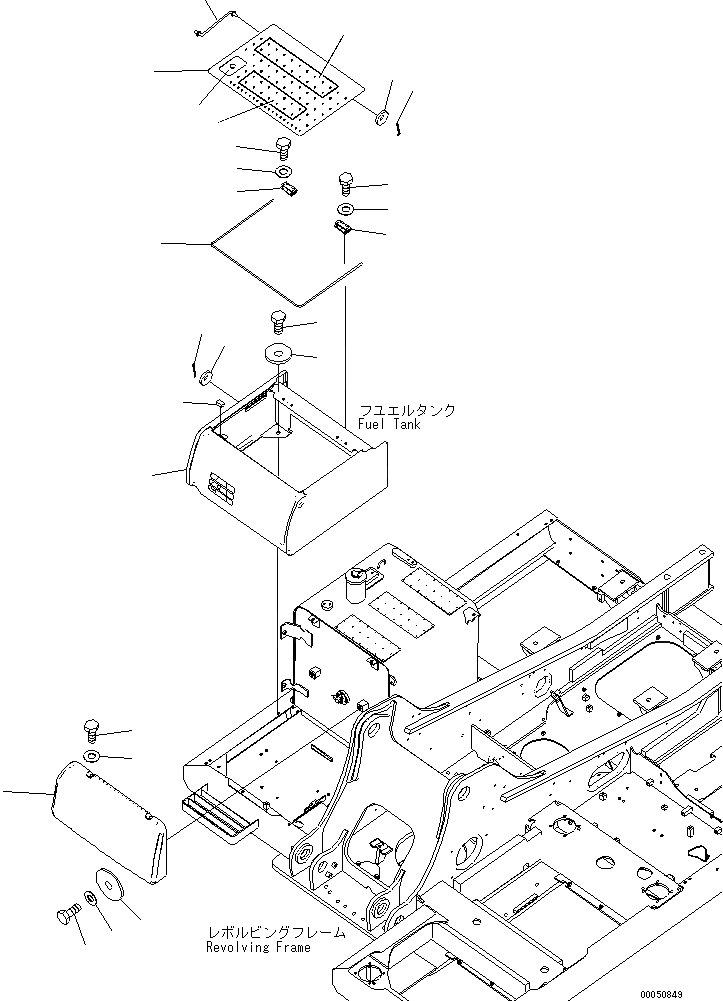
Запчасти Komatsu PC240LC-8K АККУМУЛЯТОРН. ОТСЕК M ЧАСТИ КОРПУСА

Схема запчастей Komatsu PC240LC-8K - АККУМУЛЯТОРН. ОТСЕК M ЧАСТИ КОРПУСА
14
5
7
2
3
15
16
8
9
6
10
11
6
13
16
15
12
4
21
20
17
18
19
18
17
1
FIT
1:1
100%

Артикул

Название

Примечание

Количество

1

20Y-54-73960

COVER

1

20Y-54-74104

CASE ASSEMBLY

|1

20Y-54-74103

CASE ASSEMBLY

|1

20Y-54-74102

CASE ASSEMBLY

2

20Y-00-42140

PLATE

3

209-00-41550

PLATE

4

20Y-54-76640

COVER

|4

20Y-54-74121

COVER

5

20Y-54-74133

COVER

|5

20Y-54-74132

COVER

6

20Y-54-74161

HINGE

7

20Y-54-74172

LOCK ASSEMBLY

|7

421-54-11372

LOCK ASSEMBLY

8

01010-81020

BOLT

9

01643-31032

WASHER

10

01010-81020

BOLT

11

01643-31032

WASHER

12

20Y-54-29680

SHEET

13

20Y-54-29660

SEAL

14

203-54-56630

ROD

15

01643-30623

WASHER

16

04050-11612

PIN

17

01010-81230

BOLT

18

01643-31232

WASHER

19

20Y-54-19930

COLLAR

20

175-54-34170

WASHER

21

01010-81230

BOLT

Выбрано товаров: 27