Запчасти Komatsu PC240NLC-5K ПЕРЕГОРОДКА(№K-K) ЧАСТИ КОРПУСА

Схема запчастей Komatsu PC240NLC-5K - ПЕРЕГОРОДКА(№K-K) ЧАСТИ КОРПУСА
FIT
1:1
100%

Артикул

Название

Примечание

Количество

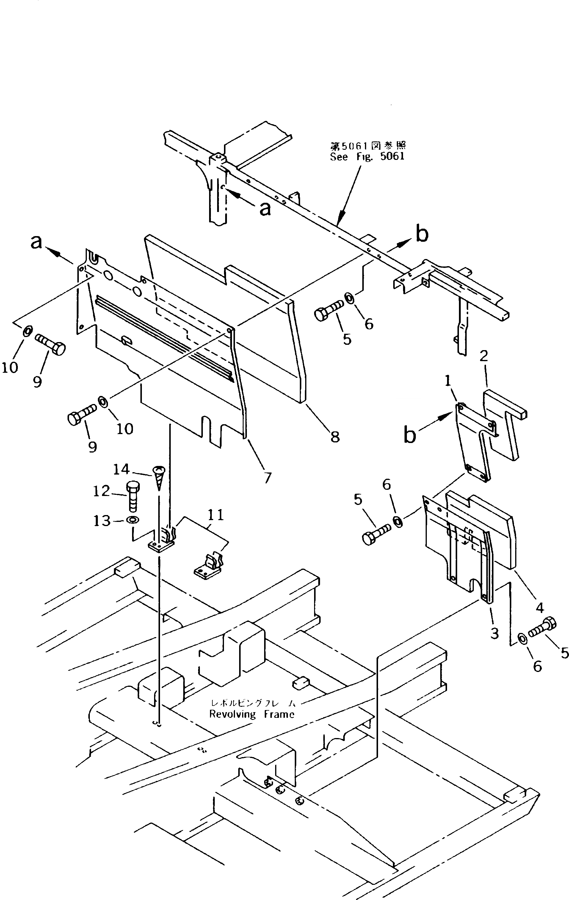
1

206-54-K1741

COVER

2

206-54-K1570

SHEET

3

206-54-K1721

COVER

4

206-54-K1680

SHEET

5

01010-51230

BOLT

6

20Y-54-12670

WASHER

7

20Y-54-K3231

COVER

8

20Y-54-K3222

SHEET

9

01010-51230

BOLT

10

20Y-54-12670

WASHER

11

20Y-54-12320

CATCH

12

01010-51230

BOLT

13

01643-31232

WASHER

14

01370-00512

SCREW

Выбрано товаров: 14