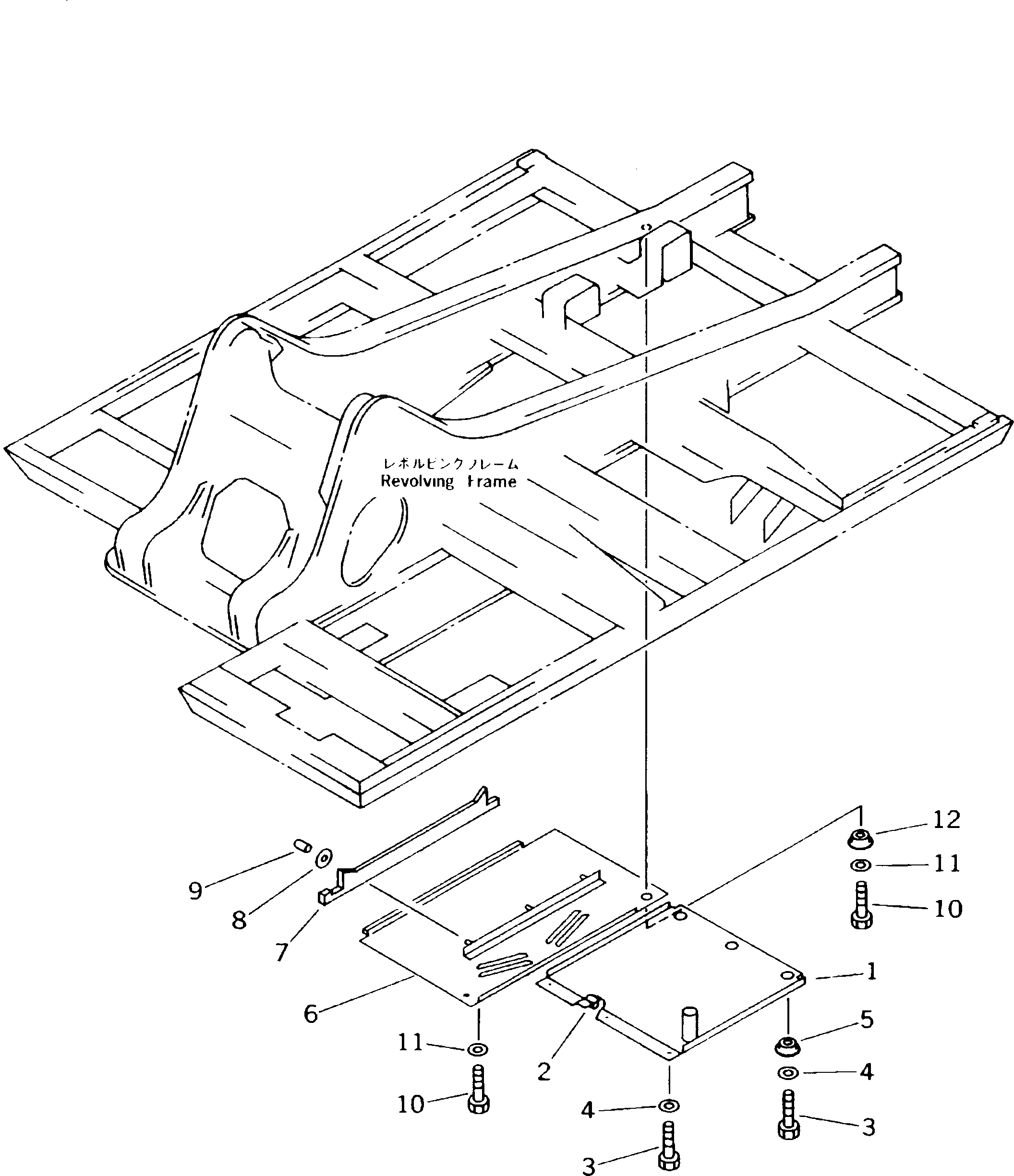
Запчасти Komatsu PC240NLC-5K НИЖН. КРЫШКА (ДЛЯ ОСНОВН. РАМА И РАМА ПРАВ.)(№K-) ЧАСТИ КОРПУСА

Схема запчастей Komatsu PC240NLC-5K - НИЖН. КРЫШКА (ДЛЯ ОСНОВН. РАМА И РАМА ПРАВ.)(№K-) ЧАСТИ КОРПУСА
FIT
1:1
100%

Артикул

Название

Примечание

Количество

1

20Y-54-K4490

COVER

2

206-54-K2490

HINGE (WELDED)

3

01010-51230

BOLT

4

01643-31232

WASHER

5

208-54-57180

COLLAR

6

206-54-K2350

COVER

7

206-54-K2370

SHEET

8

205-54-K5371

WASHER

9

205-54-K5320

CAP

10

01010-51230

BOLT

11

01643-31232

WASHER

12

20Y-54-12550

COLLAR

Выбрано товаров: 12