Качественные детали и логистика
Оригинальные и аналоговые запчасти с доставкой по России, Казахстану и Беларуси
©2022 PartSell ООО "Система" ИНН 2463123282 ОГРН 1212400004838
Центральный офис: г. Красноярск, Академика Киренского, д.87, пом.4
Телефон: 8 (800) 777-65-74 Email: zakaz@partsell.ru
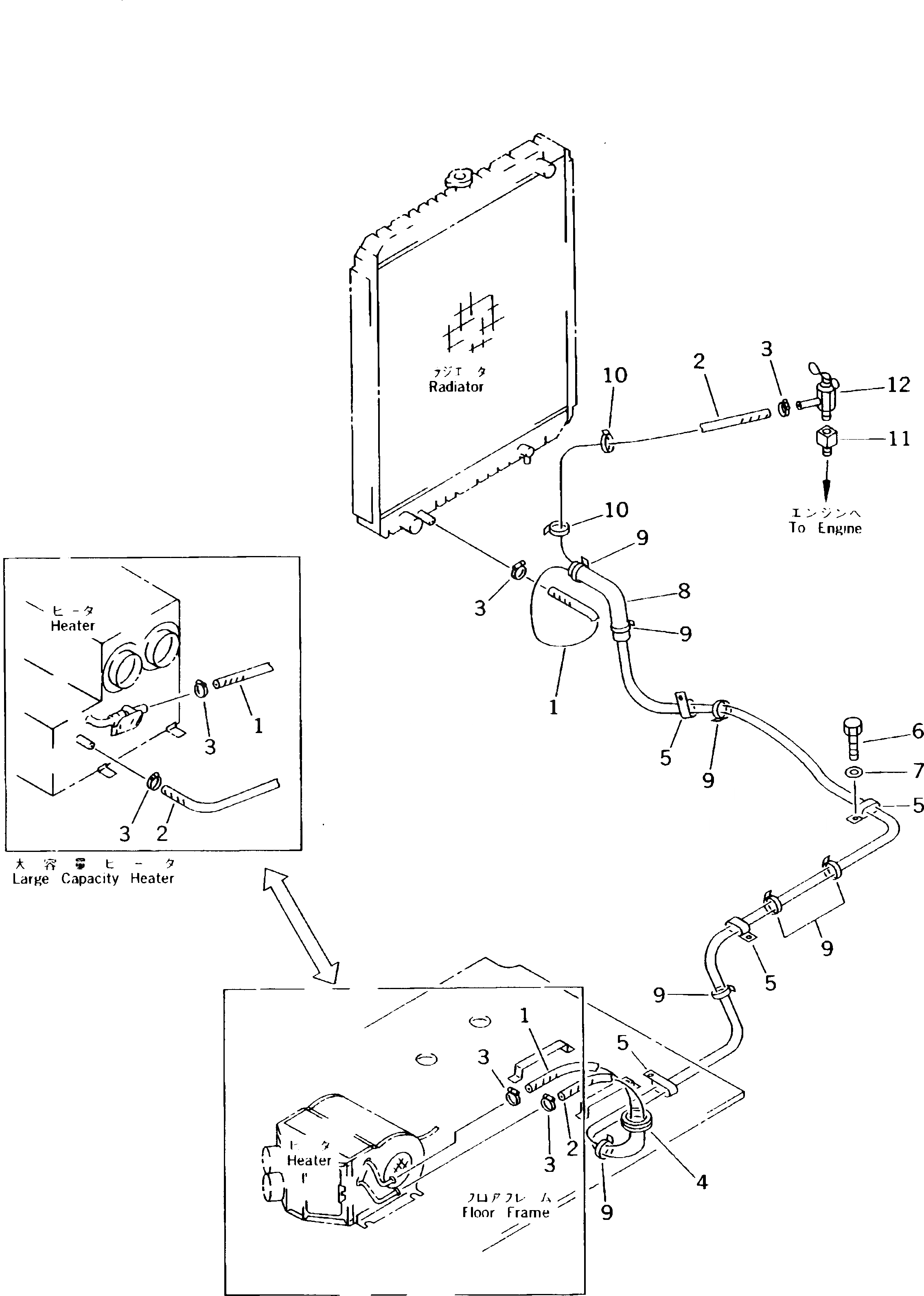
ОБОГРЕВАТЕЛЬ. И ТРУБЫ
№
Артикул
Название
Примечание
Количество
1
09483-00432
HOSE
|1
09483-00442
HOSE,(FOR LARGE CAPACITY HEATER)
2
|2
09483-00440
3
09480-10100
CLAMP
4
08037-05016
GROMMET
5
176-911-4170
CLIP
6
01010-51020
BOLT
7
01643-31032
WASHER
8
203-62-41150
COVER
9
08034-00519
BAND
10
08034-00536
11
205-977-7320
ADAPTER
12
09482-20000
VALVE
Выбрано товаров: 0