Запчасти Komatsu PC240NLC-8K АККУМУЛЯТОР (ВЫСОК. ЕМК.) (ЖИДКОСТН. ТИПА) E ЭЛЕКТРИКА

Схема запчастей Komatsu PC240NLC-8K - АККУМУЛЯТОР (ВЫСОК. ЕМК.) (ЖИДКОСТН. ТИПА) E ЭЛЕКТРИКА
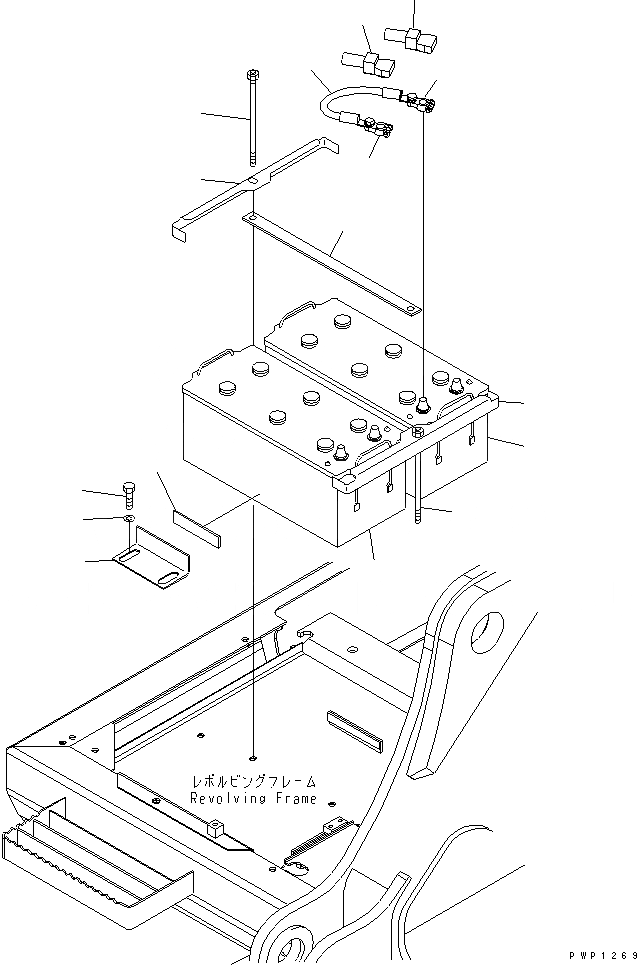
1
1
2
3
4
4
5
6
6
7
7
8
9
10
11
12
FIT
1:1
100%

Артикул

Название

Примечание

Количество

1

423-06-K1110

BATTERY, 12V 150AH, WET

2

08000-00000

TERMINAL, (+)

3

08000-00001

TERMINAL, (-)

4

205-06-K1251

CLAMP

5

207-06-K1270

PLATE

6

205-06-K1730

BOLT

7

08038-42511

CAP

8

08028-63030

WIRE

|8

08028-63050

WIRE

9

207-06-61461

BRACKET

10

207-06-51330

SHEET

11

01010-81225

BOLT

12

175-54-34170

WASHER

Выбрано товаров: 13